EasyManua.ls Logo

Becker centronic sunwindcontrol swc52 - Page 42

Becker centronic sunwindcontrol swc52
Print Icon
To Next Page IconTo Next Page
To Next Page IconTo Next Page
To Previous Page IconTo Previous Page
To Previous Page IconTo Previous Page
Loading...
42
Assembly and Operating Instructions
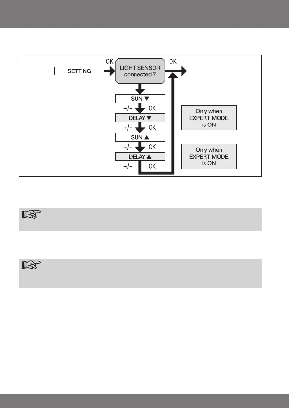
SETTING
SUN (DELAY)
1. Press the MENU button.
2. To select the SETTING menu press the + button until SETTING appears.
3. Press OK to conrm
Note
Thisdialogueeldwillonlyappearifasunsensorisconnected.
4. SUN t will appear.
5. Use the +/- button to adjust the sunlight setting. (The two left-hand gures
on the display show the current sunlight setting)
Note
ThedialogueeldonlydisplaysDELAYtandDELAYswhentheEX-
PERTMODEissettoONinthefunctionsmenu.
6. Press OK to conrm selection. DELAY t appears.
7. Use the +/- button to adjust the delay time.
8. Press OK to conrm.
To set SUN s and DELAY s, proceed as described above for SUN t and
DELAY t.
9. The SUN/ DELAY function is now set.
10. For further programming options in the SETTING menu refer to the next
section.