EasyManua.ls Logo

Becker centronic sunwindcontrol swc52 - Page 44

Becker centronic sunwindcontrol swc52
Print Icon
To Next Page IconTo Next Page
To Next Page IconTo Next Page
To Previous Page IconTo Previous Page
To Previous Page IconTo Previous Page
Loading...
44
Assembly and Operating Instructions
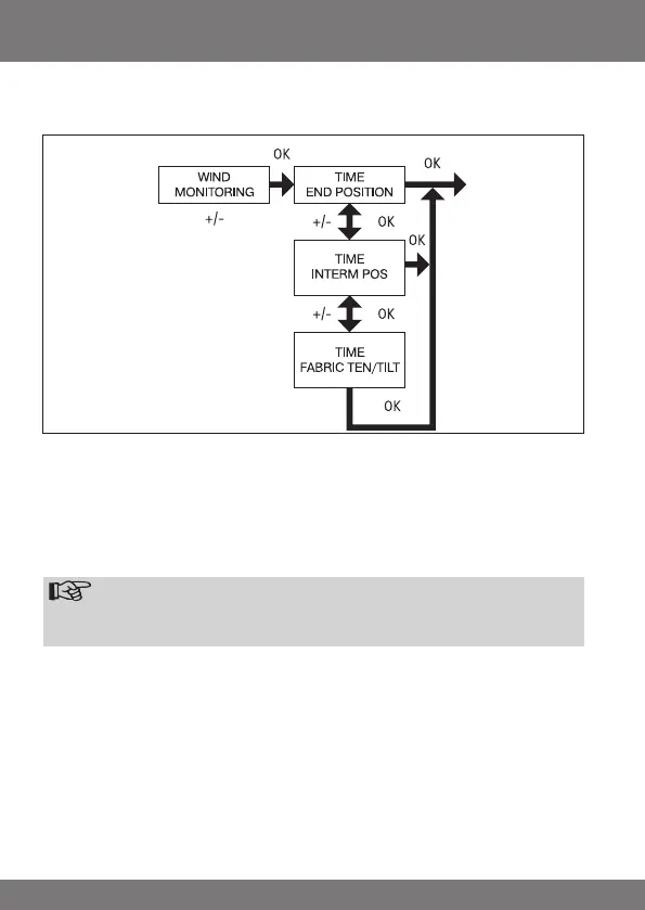
SETTING
WIND MONITORING, TIME END POSITION, TIME INTERM POS, TIME FABRIC
TEN/TILT
1. You have conrmed the menu option WINTER OFF/ON.
WIND MONITORING appears.
2. Use the +/- button to adjust the wind setting. (The two left-hand gures on the
display show the current wind setting)
3. Press OK to conrm. TIME END POSITION appears.
4. Use the +/- button to choose between TIME END POSITION, TIME INTERM
POS, TIME FABRIC TEN/TILT.
Note
Thisfunctionallowsyoutoselectthepositionintowhichtheawning/
venetianblindwillbemovedwhenthepre-settimeisreached.
5. Press OK to conrm your selection.
6. The TIME END POSITION function is now set.
7. For further programming options in the SETTING menu refer to the next sec-
tion.