EasyManua.ls Logo

BECSY UC500 - Product Composition and Name of each Part for UC200;UC500

Default Icon
48 pages
Print Icon
To Next Page IconTo Next Page
To Next Page IconTo Next Page
To Previous Page IconTo Previous Page
To Previous Page IconTo Previous Page
Loading...
1
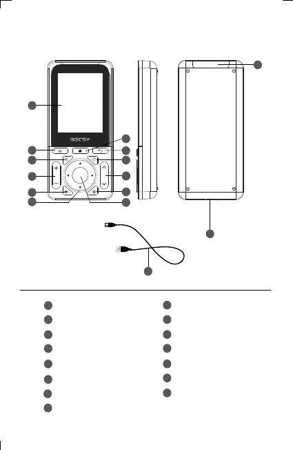
1. Product Composition and Name of Each Part for <UC200>
D
C
A
G
E
F
M
O
N
Power ON/OFF
EXIT
LCD Screen
Volume UP/DOWN
H
I
J
Navigator
K
Selection
Menu
Home/Guide
Mute
G
H
I
J
K
Display home
Channel UP/DOWN
A
B
C
D
E
F
I
K
B
H
F
L
J
H
I
J
Information
L
J
K
USB Type-C Connector
USB C Cable
N
O
IR Transceiver
M

Related product manuals