EasyManua.ls Logo

BendPak HDS-14LSXE - Technical Resources; Wiring Diagrams

BendPak HDS-14LSXE
80 pages
Print Icon
To Next Page IconTo Next Page
To Next Page IconTo Next Page
To Previous Page IconTo Previous Page
To Previous Page IconTo Previous Page
Loading...
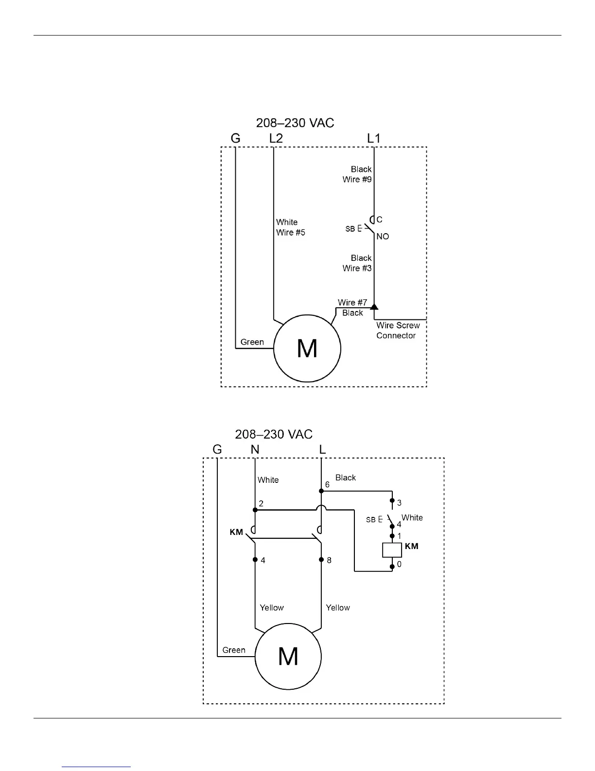
HDS-14LSX / HDS-14LSXE Lifts 67 P/N 5900162April 2018 Rev. F3
Wiring Diagrams
Power Unit 1
Power Unit 2

Other manuals for BendPak HDS-14LSXE

Related product manuals