EasyManua.ls Logo

BenQ MS500 - Page 25

BenQ MS500
56 pages
Print Icon
To Next Page IconTo Next Page
To Next Page IconTo Next Page
To Previous Page IconTo Previous Page
To Previous Page IconTo Previous Page
Loading...
Operation 25
With the advent of digital signal processing, digital display devices like this projector can
dynamically stretch and scale the image output to a different aspect than that of the image
input signal.
To change the projected picture ratio (no matter what aspect the source is):
1.
Press MENU/EXIT and then press / until the DISPLAY menu is highlighted.
2. Press to highlight Aspect Ratio.
3. Press / to select an aspect ratio to suit the format of the video signal and your
display requirements.
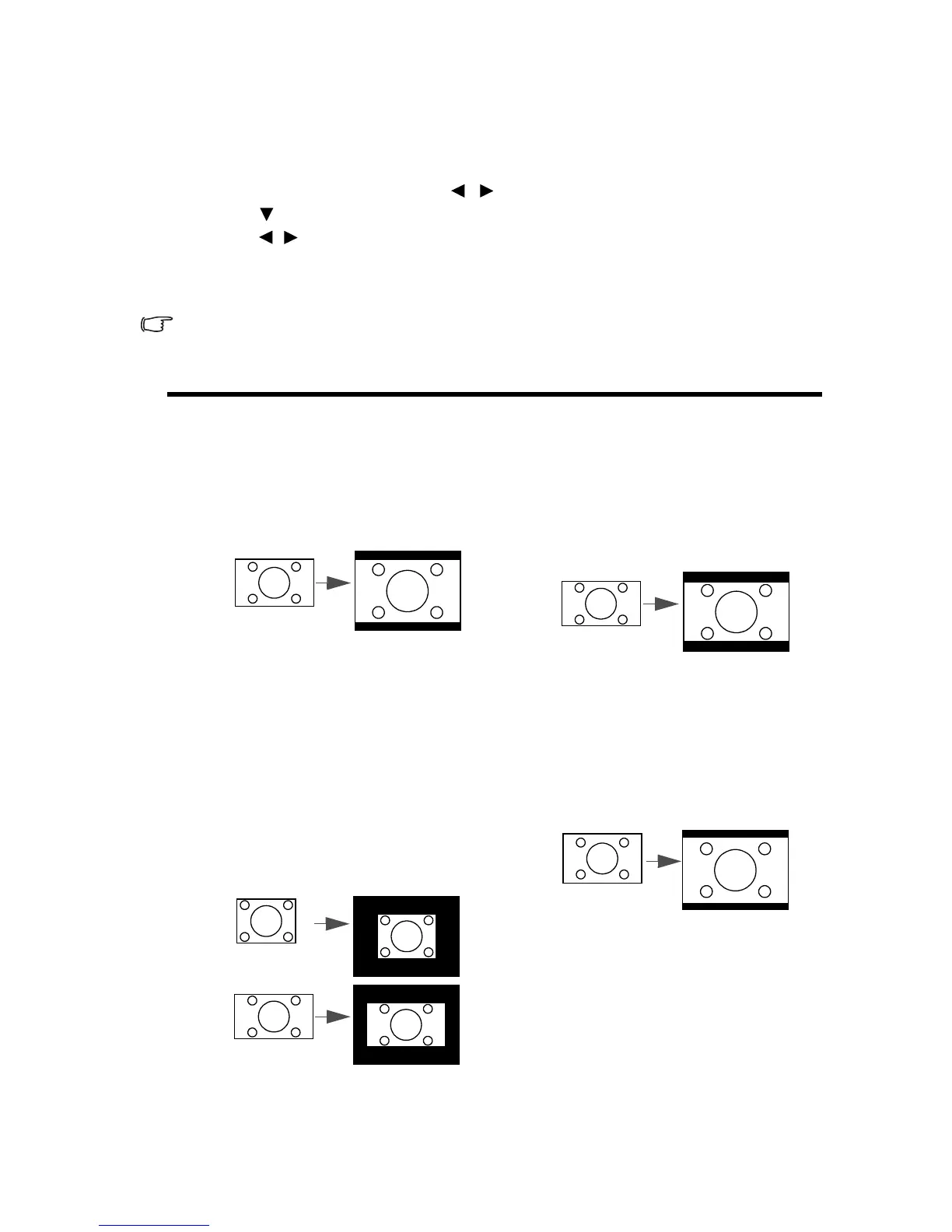
About the aspect ratio
In the pictures below, the black portions are inactive areas and the white portions are
active areas.
OSD menus can be displayed on those unused black areas.
1. Auto: Scales an image proportionally to fit
the projector's native resolution in its
horizontal or vertical width. This is suitable
for the incoming image which is neither in
4:3 nor 16:9 and you want to make most use
of the screen without altering the image's
aspect ratio.
4. 16:9: Scales an image so that it is
displayed in the center of the
screen with a 16:9 aspect ratio.
This is most suitable for images
which are already in a 16:9 aspect,
like high definition TV, as it
displays them without aspect
alteration.
2. Real
: The image is projected as its original
resolution, and resized to fit within the
display area. For input signals with lower
resolutions, the projected image will display
smaller than if resized to full screen. You
could adjust the zoom setting or move the
projector towards the screen to increase the
image size if necessary. You may also need
to refocus the projector after making these
adjustments.
5. 16:10: Scales an image so that it is
displayed in the center of the
screen with a 16:10 aspect ratio.
This is most suitable for images
which are already in a 16:10
aspect, as it displays them without
aspect alteration.
15:9 picture
16:9 picture
4:3 picture
16:9 picture
16:10 picture

Other manuals for BenQ MS500

Related product manuals