EasyManua.ls Logo

BenQ SX751 - Controls and Functions

BenQ SX751
81 pages
Print Icon
To Next Page IconTo Next Page
To Next Page IconTo Next Page
To Previous Page IconTo Previous Page
To Previous Page IconTo Previous Page
Loading...
Introduction 11
Controls and functions
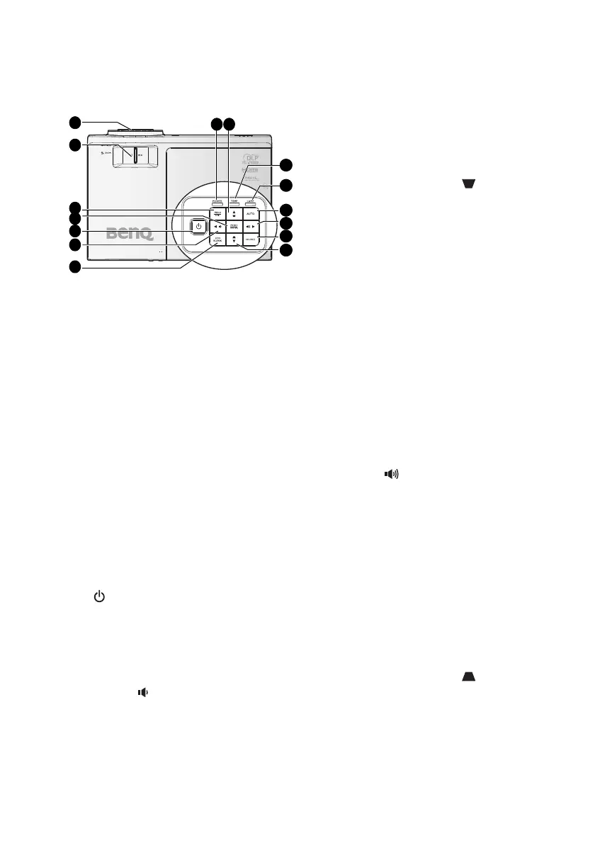
Projector
1. Focus ring
Used to adjust the projected image
appearance. See "Fine-tuning the image
size and clarity" on page 26 for details.
2. ZOOM ring
Used to adjust the projected image
appearance. See "Fine-tuning the image
size and clarity" on page 26 for details.
3. MENU/EXIT
Turns on the On-Screen Display (OSD)
menu. Goes back to previous OSD menu,
exits and saves menu settings.
See "Using
the menus" on page 29 for details.
4. MODE/ENTER
Selects an available picture setup mode.
See "Selecting a picture mode" on page 36
for details.
Enacts the selected On-Screen Display
(OSD) menu item. See "Using the menus"
on page 29 for details.
5. POWER
Toggles the projector between standby
mode and on.
See "Starting up the projector" on page 25
and "Shutting down the projector" on page
48 for details.
6. Left/ Decrease volume level
Decreases volume. See "Adjusting the
sound level" on page 43 for details.
7. ECO BLANK
U
sed to hide the screen picture. See "Hiding
the image" on page 41 for details.
8. POWER indicator light
Lights up or flashes when the projector is
under operation. See "Indicators" on
page 69 for details.
9. Keystone/Arrow keys ( / Up)
Manually corrects distorted images
resulting from an angled projection. See
"Correcting 2D Keystone" on page 27 for
details.
10. TEMPerature indicator light
Lights up red if the projector's
temperature becomes too high. See
"Indicators" on page 69 for details.
11. LAMP indicator light
Indicates the status of the lamp. Lights up
or flashes when the lamp has developed a
problem. See "Indicators" on page 69 for
details.
12. AUTO
Automatically determines the best
picture timings for the displayed image.
See "Auto-adjusting the image" on page
26 for details.
13. Right/ Increase volume level
Increases volume. See "Adjusting the
sound level" on page 43 for details.
When the On-Screen Display (OSD)
menu is activated, the #6, #9, #13, and
#15 keys are used as directional arrows
to select the desired menu items and to
make adjustments. See "Using the menus"
on page 29 for details.
14. SOURCE
Displays the source selection bar. See
"Switching input signal" on page 33 for
details.
15. Keystone/Arrow keys ( / Down)
Manually corrects distorted images
resulting from an angled projection. See
"Correcting 2D Keystone" on page 27 for
details.
2
3
5
12
13
14
15
6
7
11
8 9
4
1
10

Related product manuals