EasyManua.ls Logo

BenQ W7000 - Aspect Ratio Options (LB, Wide, Real)

BenQ W7000
58 pages
Print Icon
To Next Page IconTo Next Page
To Next Page IconTo Next Page
To Previous Page IconTo Previous Page
To Previous Page IconTo Previous Page
Loading...
33
Connecting with video equipment
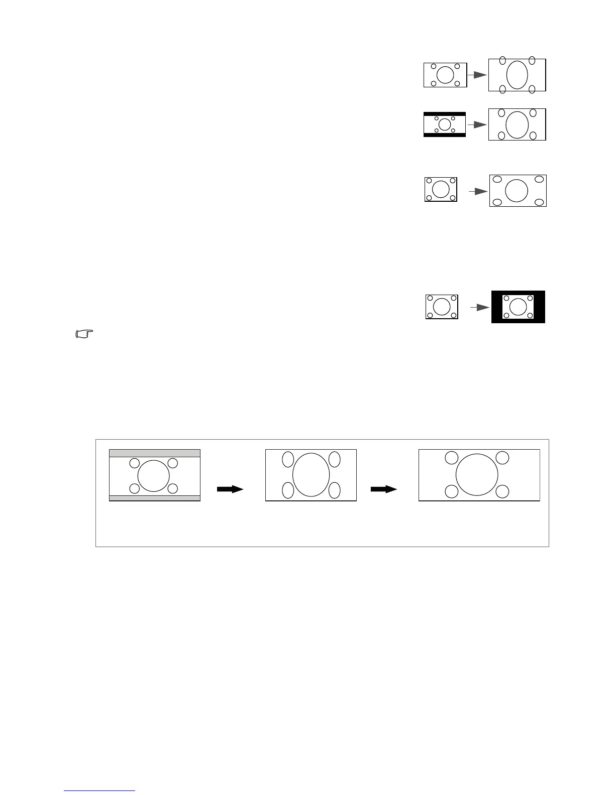
3. Letter Box (LB): Scales a picture to fit the projector’s native
resolution in its horizontal width and resize the picture’s height to the
3/4 of the projection width. This may produce a picture greater in
height than can be displayed, so part of the picture is lost (not
displayed) along the top and bottom edges of the projection. This is
suitable for the display of movies which are presented in letter box
format (with black bars on the top and bottom).
4. Wide: Stretches the picture horizontally in a non-linear manner, that
is, the edges of the picture are stretched more than the center of the
picture to prevent distortion of the central part of the picture. This is
suitable for occasions where you want to stretch the width of a 4:3
aspect picture to the width of a 16:9 aspect screen. It does not alter the
height. Some widescreen movies have been produced with their width
squashed down to the width of a 4:3 aspect, and are best viewed when
restretched back to their original width using this setting.
5. Real: This setting displays the image in a one-to-one pixel mapping
without alteration or resize in the center of the projection. This is most
suitable for use with PC source inputs.
The black portions are inactive areas and the white portions are active
areas.
OSD menus can be displayed on those unused black areas.
Using Panamorph lenses (optional)
Panamorph lenses allow you to convert 16:9 projectors to the full 2.35:1 aspect ratio of most motion
pictures, showing the best movies without letterbox bars at top and bottom of images while increasing
resolution by 33% and brightness by 20%.
You may need a 2.35:1 screen to display the 2.35:1 images. For more information, please go to
www.panamorph.com or contact the place you purchased the projector.
16:9 picture
Letter Box
format picture
4:3 picture
4:3 picture
2.35:1 aspect ratio
image
2.35:1 aspect ratio image
using the entire resolution
of the 16:9 display
2.35:1 aspect ratio image
in a 2.35:1 display area
Pressing LB on
the remote
control
Using Panamorph
lens

Table of Contents

Other manuals for BenQ W7000

Related product manuals