EasyManua.ls Logo

BENSON JETSTREME 4+ - Page 18

Default Icon
35 pages
Print Icon
To Next Page IconTo Next Page
To Next Page IconTo Next Page
To Previous Page IconTo Previous Page
To Previous Page IconTo Previous Page
Loading...
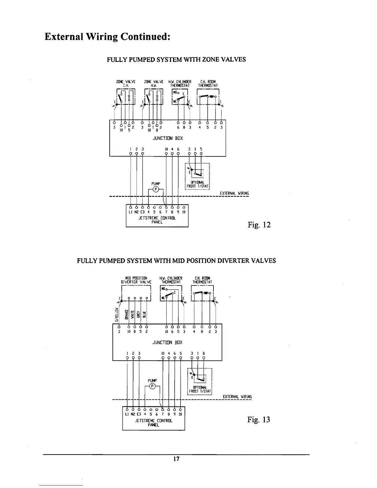
External Wiring Continued:
FULLY
PUMPED
SYSTEM
WITH
ZONE
VAL
YES
ZIK
WLVE
ZIJNE
VALVE
H.I.',
CYlINDER
Cll.
ROOM
C.H.
Ill.',
THERMOSTAT
THERMOSTAT
pii;;71
'---I
~t--llJ'
£~r--lli'
it«:,I"""'lE
i[
.~
~.~,'l"-++-I-+'
L::.
--\,4
L'
-
--
.
~.
I I
6 C 6 6
6834523
3
10
1 5 2 3
10
1 8 2
JUNCTION
BOX
1 2 3
10
...
6
3]
5
~
r
.---
..
-
--,
!~
- !
: [
••••
J :
;.......
:
I :
:
IPTlrtlAL
;
-------H--
--
~
- _
__
~=:.__==
___
!!~J"."'!;
000
UN2E345678910
JETSTREME
CONTROL
PANEL
Fig. 12
FULLY
PUMPED
SYSTEM
WITH
MID
POSmON
DIVERTER
VAL
YES
MID
POSITION
KII.
CYLINOCR
C.H.
ROIJ4
DlVERTER
VALVE
THERMOSTAT
THERMOSTAT
r------l
r;i.---~
'---I
A;j-'I---
-J
310852
~~
~
~~
L
___
~.
I
6
]0
6 5 3 4 8 2 3
JUNCTION
BOX
1 2 3
9
PUMP
~
10
4 6 5 3 I 8
~
o 0 (
u
~O
4 5 6 7 8 9 W
JETSTREME
CONTROL
PAI£L
EXTERNAl
IIIRING
Fig.
13
17