EasyManua.ls Logo

Bernina Bernette 20 - Threading the Upper Thread

Bernina Bernette 20
85 pages
Print Icon
To Next Page IconTo Next Page
To Next Page IconTo Next Page
To Previous Page IconTo Previous Page
To Previous Page IconTo Previous Page
Loading...
3
2
3
1
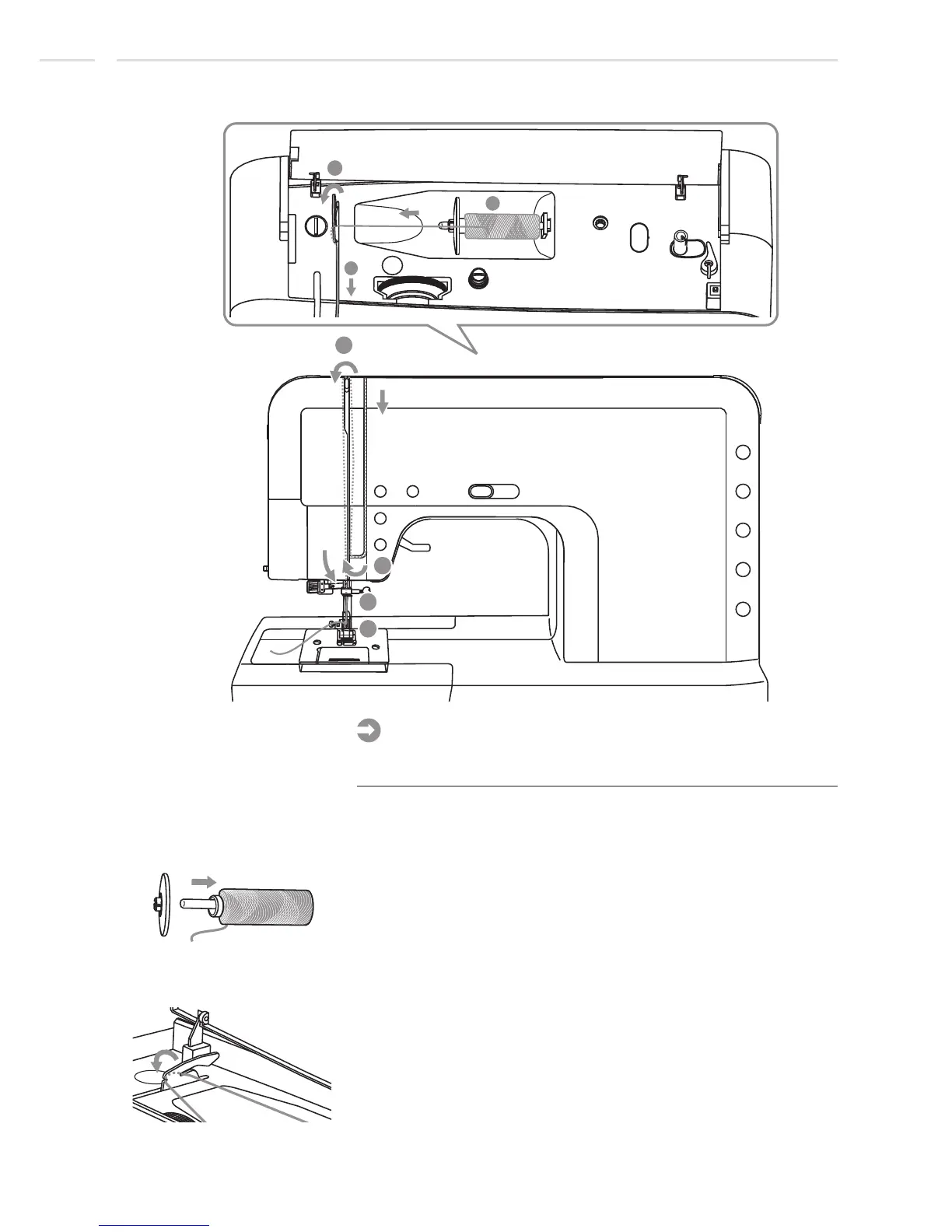
2. Snap the thread into the upper thread guide.
5
7
6
4
Please Note:
It is important to carry out the threading correctly as by not
doing so several sewing problems could result.
Start by raising the needle to its highest point, and also
raise the presser foot to release the tension discs.
Threading the Upper Thread
Machine Setup
1. Place the thread and spool holder onto the spool pin.
For smaller spools of thread, place spool holder with the
small side next to the spool or use the small spool holder.
14

Table of Contents

Other manuals for Bernina Bernette 20

Related product manuals