EasyManua.ls Logo

Biddle DF Series - Automatic Temperature Control

Default Icon
48 pages
Print Icon
To Next Page IconTo Next Page
To Next Page IconTo Next Page
To Previous Page IconTo Previous Page
To Previous Page IconTo Previous Page
Loading...
OPERATION COMFORT AIR CURTAIN
en-32
en
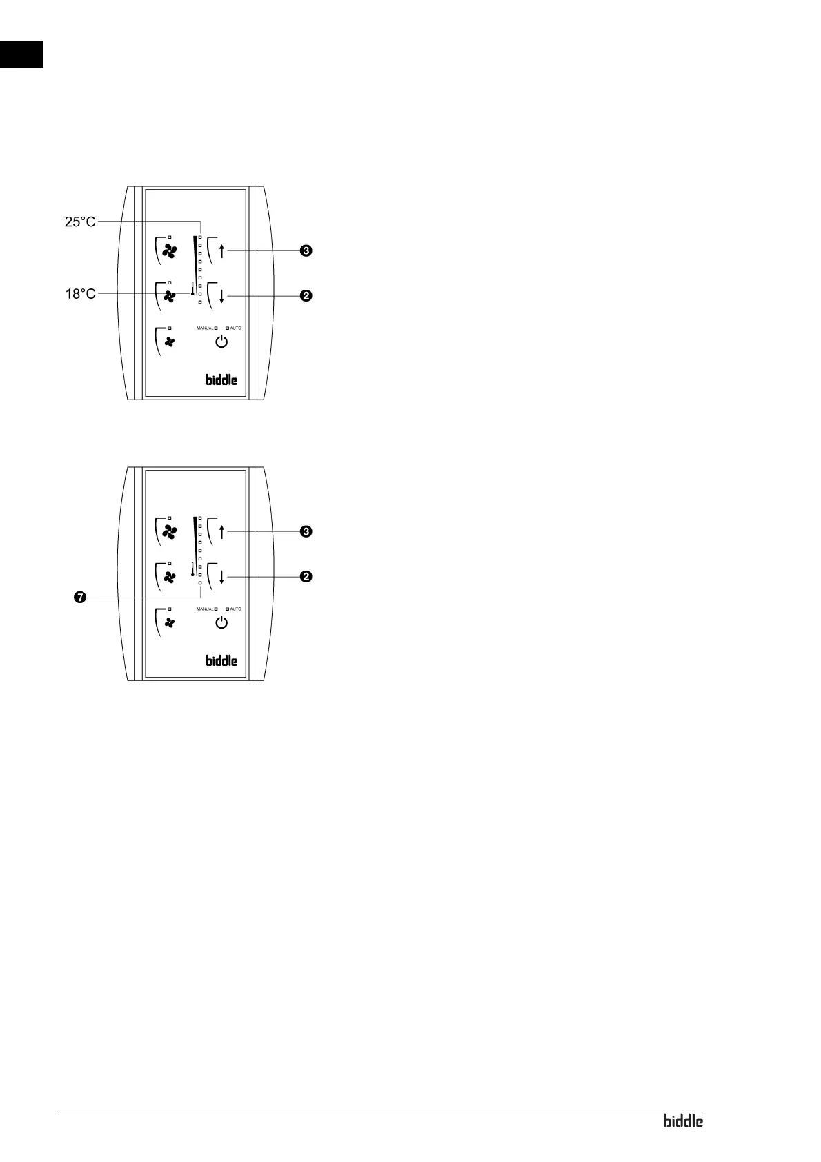
3.4.2 Automatic temperature control
In automatic mode, the unit measures the air inlet tempera-
ture and automatically selects the required heating setting to
adjust the air temperature to the configured level.
Set the required temperature using Buttons 2 and 3
The LEDs display the temperature in a range from 18 °C to
25 °C (64 °F to 77 °F). This temperature is measured at the
unit’s air inlet and may deviate slightly from actual room tem-
perature.
3.4.3 Turning off heating
You can turn off heating to achieve climate separation without
actually heating the air, e.g. if indoor air is being cooled and is
colder than outside.
This can be configured in both manual and automatic modes.
To turn heating off:
Press Button 2 until blue LED 7 illuminates.
To turn heating on:
Press Button 3: the blue LED turns off and one or more
of the yellow LEDs turns on.