EasyManua.ls Logo

biodex 950-387 - Page 53

biodex 950-387
55 pages
Print Icon
To Next Page IconTo Next Page
To Next Page IconTo Next Page
To Previous Page IconTo Previous Page
To Previous Page IconTo Previous Page
Loading...
CONTENTS
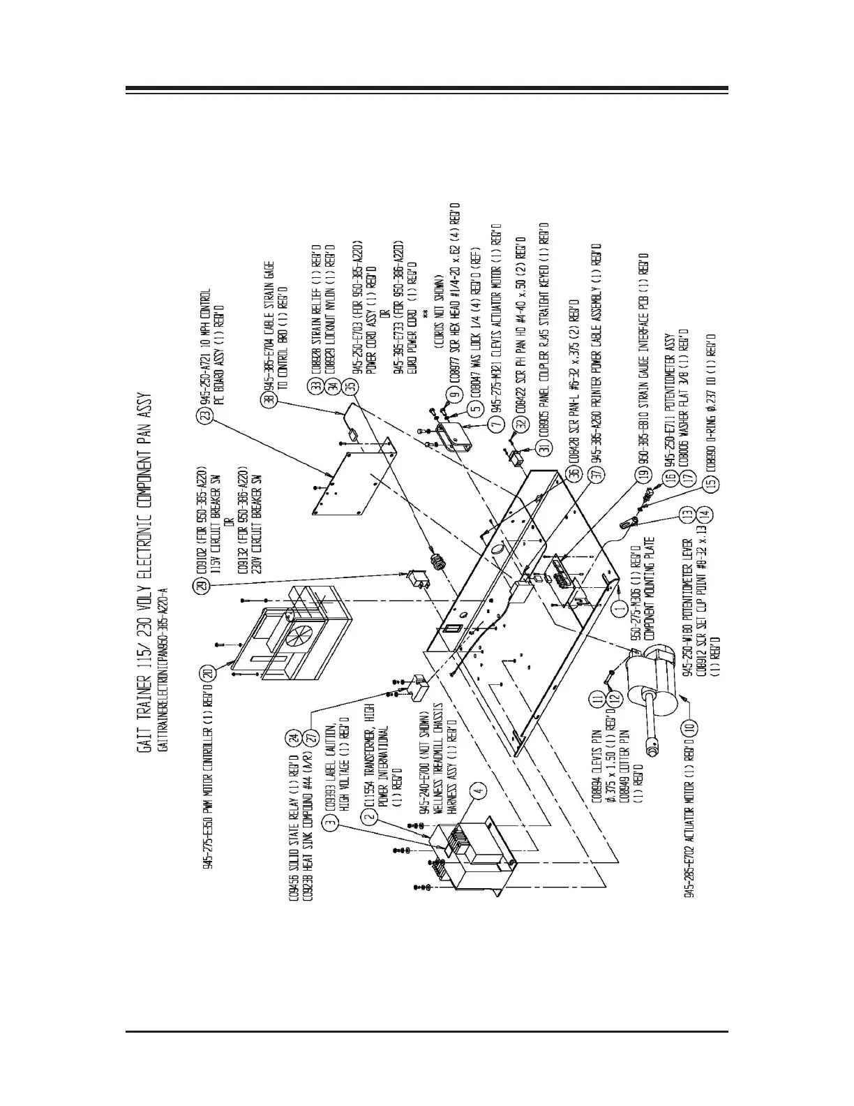
17-5 ASSEMBLY DRAWINGS AND SCHEMATICS

Related product manuals