EasyManua.ls Logo

BLACKHAWK! V-2 - Overview

BLACKHAWK! V-2
36 pages
Print Icon
To Next Page IconTo Next Page
To Next Page IconTo Next Page
To Previous Page IconTo Previous Page
To Previous Page IconTo Previous Page
Loading...
Blackhawk Technology Company
V-2PneumaticPistonPumpI&O-10365 | 20220811
2
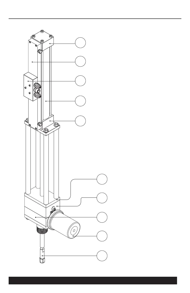
Overview
1
3
2
5
6
7
8
10
9
4
Driver Components:
1.) Piston Cylinder Cap
2.) Manifold
3.) Air Valve
4.) Piston Cylinder
5.) Piston Cylinder Head
6.) Splash Plate
7.)StungBox
8.)BrassOilerPlate
9.)AutoOiler
10.) Driver Rod Connect