EasyManua.ls Logo

BLACKMER HD161C - Installation; Mounting the Compressor Unit

Default Icon
24 pages
Print Icon
To Next Page IconTo Next Page
To Next Page IconTo Next Page
To Previous Page IconTo Previous Page
To Previous Page IconTo Previous Page
Loading...
INSTALLATION
CB9A-021 page 5/24
NOTICE:
Blackmer compressors must only be installed in
systems designed by qualified engineering
personnel. System design must conform with all
applicable regulations and codes and provide
warning of all system hazards.
NOTICE:
This compressor shall be installed in accordance
with the requirements of NFPA 58 and all
applicable local, state and national regulations.
Install, ground and wire to local and
National Electrical Code requirements.
Install an all-leg disconnect switch
near the unit motor.
Disconnect and lockout electrical
power before installation or service
Hazardous voltage.
Can shock, burn or
cause death.
Electrical supply MUST match motor nameplate
specifications.
Motors equipped with thermal protection
automatically disconnect motor electrical circuit when
overload exists. Motor can start unexpectedly and
without warning.
LOCATION AND PIPING
Compressor life and performance can be significantly
reduced when installed in an improperly designed
system. Before starting layout and installation of the
piping system, consider the following:
1. All piping must be leak free to a pressure of 1.5
times the maximum system pressure.
NOTICE: If the system is to be hydro-statically
tested, the compressor MUST be isolated.
Liquid entering the compressor will cause
damage and void the warranty.
2. A strainer should be installed in the inlet line to
protect the compressor from foreign matter. A #30
mesh screen or finer is recommended. Strainers
must be cleaned every 180 days, or more
frequently if the system requires.
3. Expansion joints, placed within 36" (0.9 m) of the
compressor, will compensate for expansion and
contraction of the pipes. Contact the flexible
connector/hose manufacturer for required
maintenance/care and design assistance in their
use.
4. Piping must be adequately supported to ensure
that no piping loads are placed upon the
compressor.
5. Both suction and discharge piping should slope
down from the compressor. The compressor
should not be placed at a low point in the piping
system.
Discharge piping surface temperatures
may be hot during operation (over
158°F, 70°F). Temperatures should be
monitored and adequate warnings
posted
Extreme Heat can
cause personal injury
or property damage
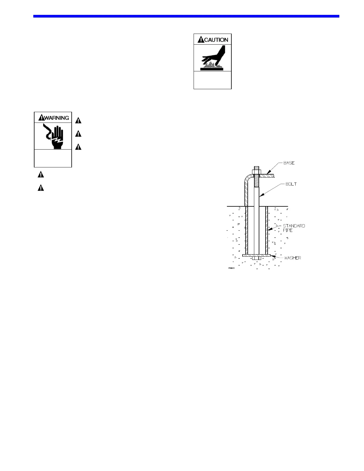
MOUNTING THE COMPRESSOR UNIT
Stationary Compressors
A solid foundation reduces noise and vibration, and will
improve compressor performance. On permanent
installations, it is recommended the compressor be
secured by anchor bolts as shown. This arrangement
allows for slight shifting of position to accommodate
alignment with the mounting holes in the base plate.
Figure 2 - Anchor Bolt
Set the anchor bolts in concrete for new foundations.
When compressors are to be located on existing
concrete floors, holes should be drilled into the concrete
to hold the anchor bolts.
To keep vibration at a minimum, in addition to a solid
concrete foundation, it is important that the concrete be
located on a stable soil foundation. The base must
have complete contact along its entire length with the
foundation. Visible separations will result in vibrations
which are magnified in the upper part of the unit.
Check compressor mounting bolts and baseplate
anchor bolts regularly.
See CB220 “Compressor Bases, Skids and
Foundations” for additional information.
Truck Mounted Compressors
Blackmer compressors may be mounted to the frame
rails of a truck/transport and driven by either a V-belt or
PTO drive.
The compressor should be solidly mounted and care
should be taken to ensure that the dipstick and
inspections plates are readily accessible.

Related product manuals