EasyManua.ls Logo

Blanco BCM6X - COFFEE LOADING

Blanco BCM6X
20 pages
Print Icon
To Next Page IconTo Next Page
To Next Page IconTo Next Page
To Previous Page IconTo Previous Page
To Previous Page IconTo Previous Page
Loading...
- 13 -
PLEASE NOTE!
The grinder-doser must be exclusively used for its intended
purpose, that is to say grinding of roasted grain coffee,
any other use is to considered improper and therefore
dangerous.
When loading coffee, do not put your hands inside the
container.
Do not use glazed, sugared or any other types of grain
coffee treated with sugar-based preservatives. They will
clog up the grinding system.
Do not operate the grinder motor when there are no coffee
beans to be ground.
While the appliance is working, never introduce spoons,
forks or any other tools in the container.
Should a foreign body block the motor, turn off the
appliance immediately and contact an authorised
technical service centre.
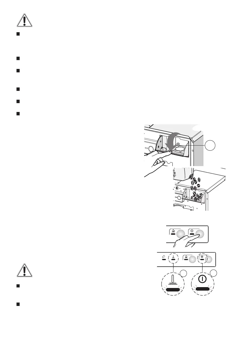
COFFEE LOADING
- Open the door A (the coffee maker automatically
switches OFF).
- Open the container cover 16 and fill it with grain coffee
(fig. 10).
- Replace the cover.
- Close the door.
NOTE! The container can contain max. 500 g of coffee.
- Turn on the appliance by pressing the button 1, the
indicator light 2 goes on, together with the indicator light 5
that indicates the beginning of water heating (fig. 11).
- When the indicator light 5 goes off (approx. 5/6 min) the
preparation cycle has been completed and the coffee maker
is ready to make coffee or dispense steam.
PLEASE NOTE!
The appliance is equipped with an electronic self-levelling
device and automatically reintegrates water in the boiler
by taking it from the tank.
When switching on the appliance for the first time, open
the steam knob, you will hear some noise for several
seconds due to the air left in the hydraulic system.
2
5
fig.11
fig.10
16