EasyManua.ls Logo

Bolin Technology KBD-1010 - Keyboard Diagrams; Kbd-1010; Home Screen

Bolin Technology KBD-1010
31 pages
Print Icon
To Next Page IconTo Next Page
To Next Page IconTo Next Page
To Previous Page IconTo Previous Page
To Previous Page IconTo Previous Page
Loading...
6
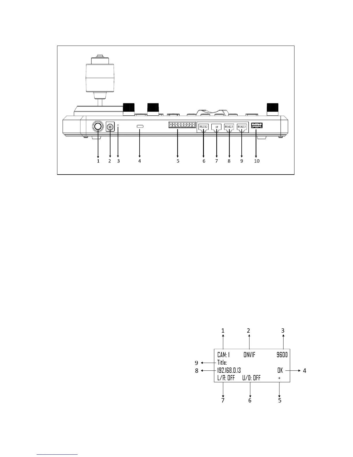
Keyboard Diagrams
KBD-1010
1. Power Button
Power on / Power off the keyboard
2. 12V DC Power Port, wide range input tolerance from 5V-48VDC
Connect the supplied DC power adaptor and cord
3. Firmware Interface Button
Engages firmware update mode on the keyboard
4. Kensington Security slot
Use a lock to physically secure the keyboard in place
5. Tally / Contact (GPI I/O connector)
Tally control interface
6. RS232 interface / RJ-45 port
Connect RS232 adapter
7. IP Interface / RJ-45 port
Connect the keyboard to a network
8. RS422 (B) interface, use for RS485 as well / RJ-45 port
Connect an RS422 adapter to control up to 7 daisy-chained RS422 cameras (Group A)
9. RS422(A) interface, use for RS485 as well / RJ-45 port
Connect an RS422 adapter to control up to 7 daisy-chained RS422 cameras (Group B)
10. Firmware Upgrade USB port
Home Screen
1. Camera Identifier Identifies which camera is being
controlled, and the protocol being used
2. Protocol
3. Baud Rate
4. Communication indicator for current device
5. Network Connectivity indicator
a. If the “+” appears, this means that the network
is successfully connected
b. If the “+” does not appear, this means that the
network is not connected
6. Tilt Reversal Indicator
7. Pan Reversal Indicator
8. IP Address
9. Camera Title

Related product manuals