EasyManua.ls Logo

Booster NBO - Chapter 7 Reference Document; Piping Instruction for the Feed Water Pump

Booster NBO
36 pages
Print Icon
To Next Page IconTo Next Page
To Next Page IconTo Next Page
To Previous Page IconTo Previous Page
To Previous Page IconTo Previous Page
Loading...
32
Chapter 7 Reference Document
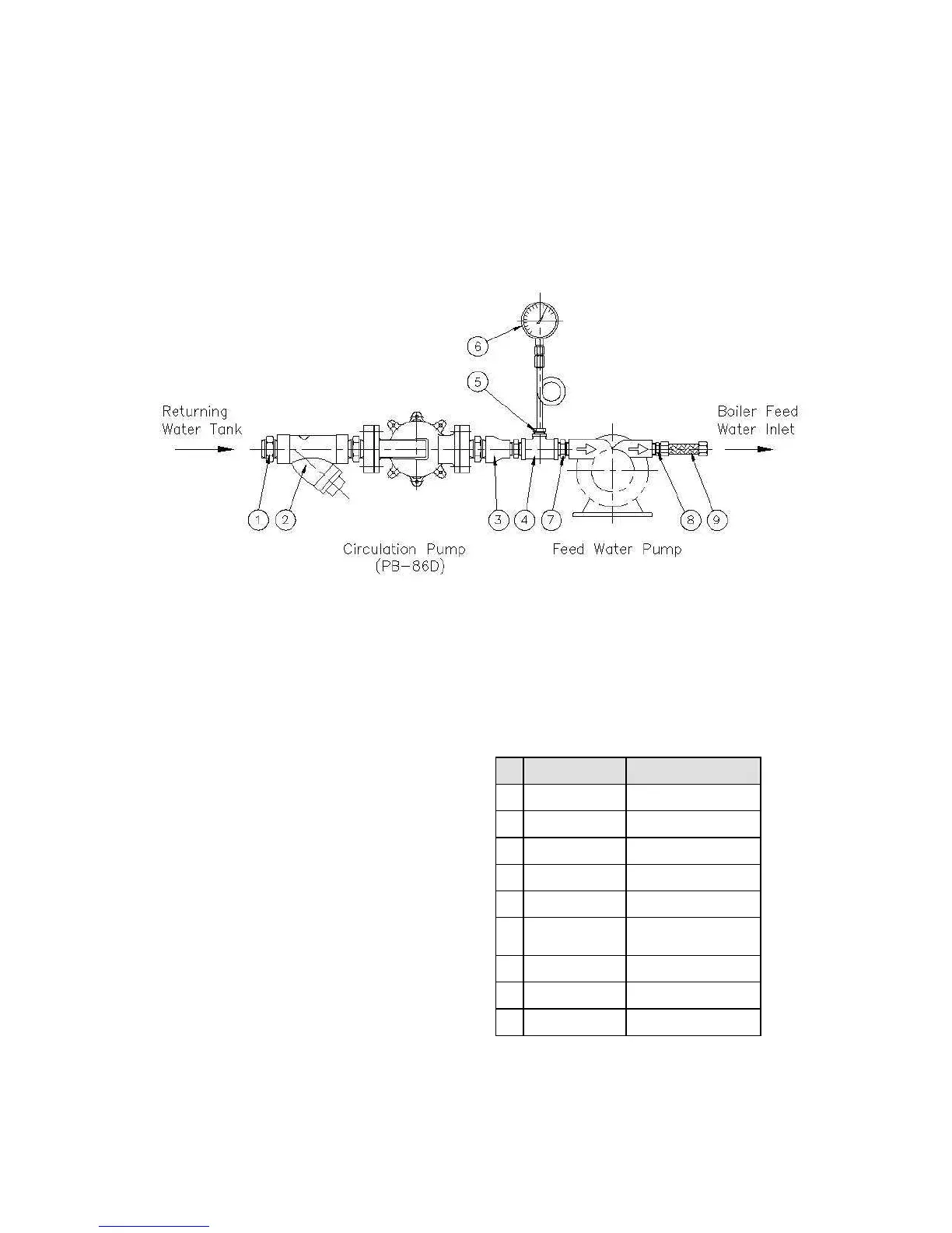
7-1 Piping Instruction for the Feed Water Pump
* Note
1. When using the returning water tank, the circulation
pump is to be installed in front side of the feed water
pump.
2. The length of each pipe is to be as built.
3. When the feed water pump is BFME, the diameter of
the pump outlet is 25A, therefore 25*20 socket is to
be used.
No.
Part Name Specification
1
Nipple 40A
2
Strainer 40A
3
Reducer 40A*25A
4
Tee 25A*15A
5
Bushing 15A*10A
6
Compound
Pressure gauge
φ 75
7
Nipple 25A
8
Nipple 20A
9
Flexible 20A

Table of Contents