EasyManua.ls Logo

Borri INGENIO COMPACT - Ups Block Diagram

Borri INGENIO COMPACT
Print Icon
To Next Page IconTo Next Page
To Next Page IconTo Next Page
To Previous Page IconTo Previous Page
To Previous Page IconTo Previous Page
Loading...
INGENIO COMPACT 10-20kVA Руководство по быстрому монтажу
Installation and start-up of INGENIO COMPACT 10÷20 kVA
OMS90052 РЕД. / REV.A
27
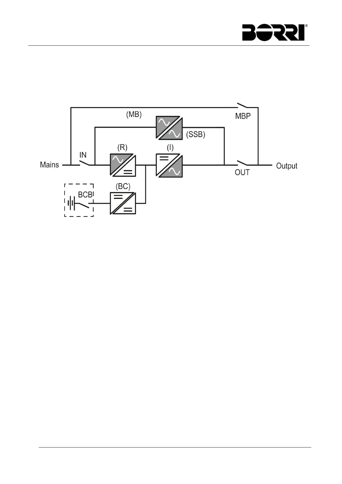
1 UPS BLOCK DIAGRAM
This UPS provides Mains input and Bypass input for dual inputs application. The system
block diagram as shown below.

Other manuals for Borri INGENIO COMPACT

Related product manuals