EasyManua.ls Logo

Bosch 830 ES - Page 27

Bosch 830 ES
80 pages
Print Icon
To Next Page IconTo Next Page
To Next Page IconTo Next Page
To Previous Page IconTo Previous Page
To Previous Page IconTo Previous Page
Loading...
Installation instructions
27
830 ES – 6 720 644 936 (2021/08)
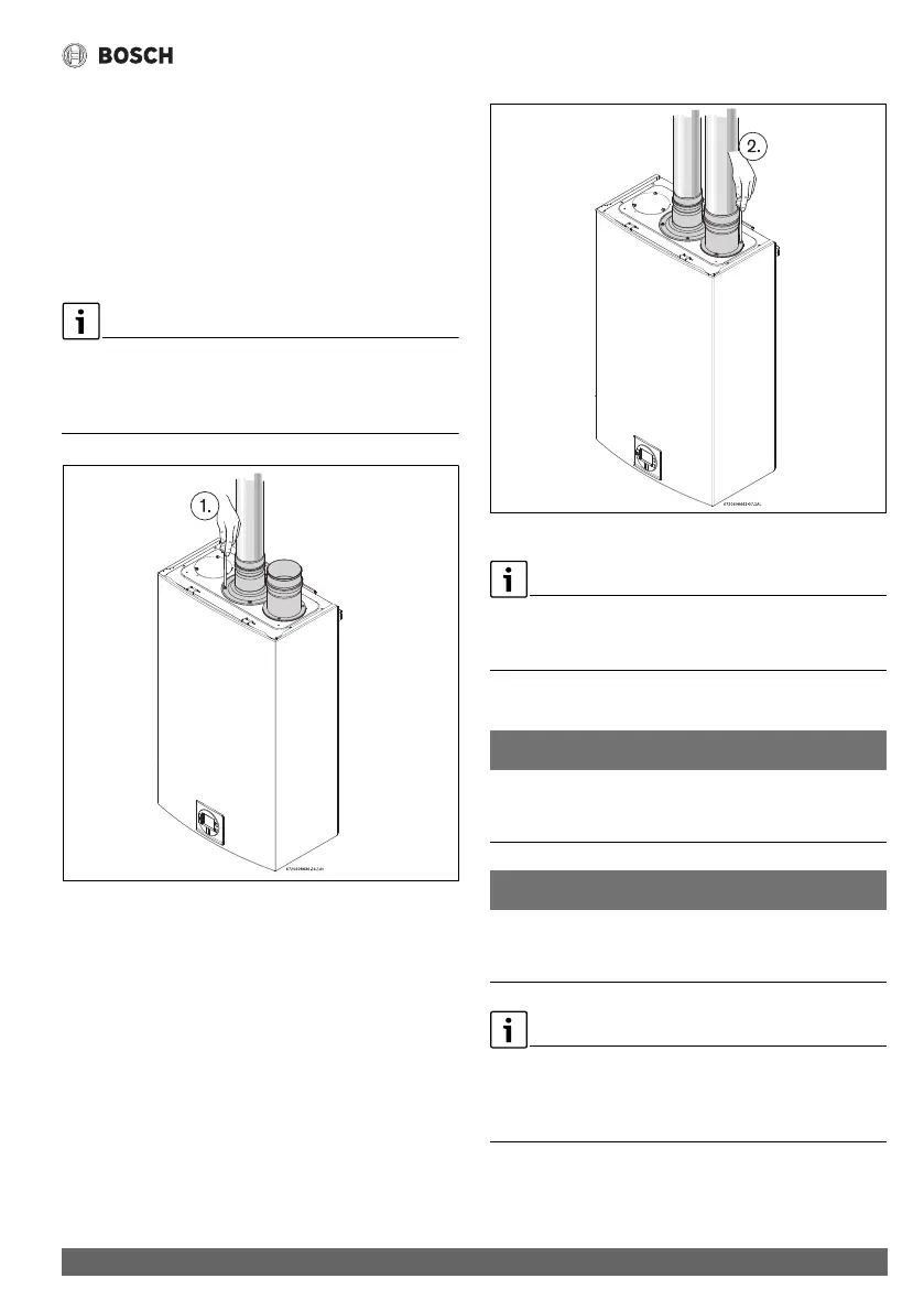
4.3.4 Vent connections
Attaching the exhaust and air inlet connection adaptors to
the top of the heater
Attach the flue gas exhaust accessory to the top of the unit
fig. 20 (position 1) using the 4 screws and gasket provided,
and fully insert vent pipe into the accessory. If using 4"
venting, a 3" to 4" increaser should be installed directly
after this accessory.
NOTE: Vent pipe must be completely vertical when inserting or
blue gasket inside exhaust accessory can become displaced.
Exhaust accessory can be removed with vent pipe attached to
check gasket position.
Fig. 20 Exhaust connection
Attach the combustion air inlet accessory to the top of the
unit fig. 21 (position 2) using the 3 screws and gasket
provided, and install 3" air intake pipe over the accessory.
Fig. 21 Inlet connection
NOTE: The combustion air accessory can be installed on the top
right or on the top left side of the heater. The combustion air
inlet that is not used must be kept sealed.
4.3.5 Connecting the external condensate water drain
NOTICE:
Risk of appliance freezing!
Failure to properly install condensate drain can damage the
appliance and will void the warranty.
NOTICE:
Risk of appliance freezing!
Do not install condensate drain tubing in areas where it may
freeze.
Use materials approved by the authority having jurisdiction. In
the absence of other authority, PVC, and CPVC pipe must
comply with ASTM D1785, F441 orD2665. Cement and
primer must comply with ASTM D2564 or F493, see table 5.
If an external condensate drain (installer supplied) must be
installed (chapter 4.3.2), the following is recommended:

Table of Contents

Other manuals for Bosch 830 ES

Related product manuals