EasyManua.ls Logo

Bosch MS 200 - Overview of the terminal assignment

Bosch MS 200
176 pages
Go to English
To Next Page IconTo Next Page
To Next Page IconTo Next Page
To Previous Page IconTo Previous Page
To Previous Page IconTo Previous Page
Loading...
Installation
MS 200 – 6720879925 (2017/11)
29
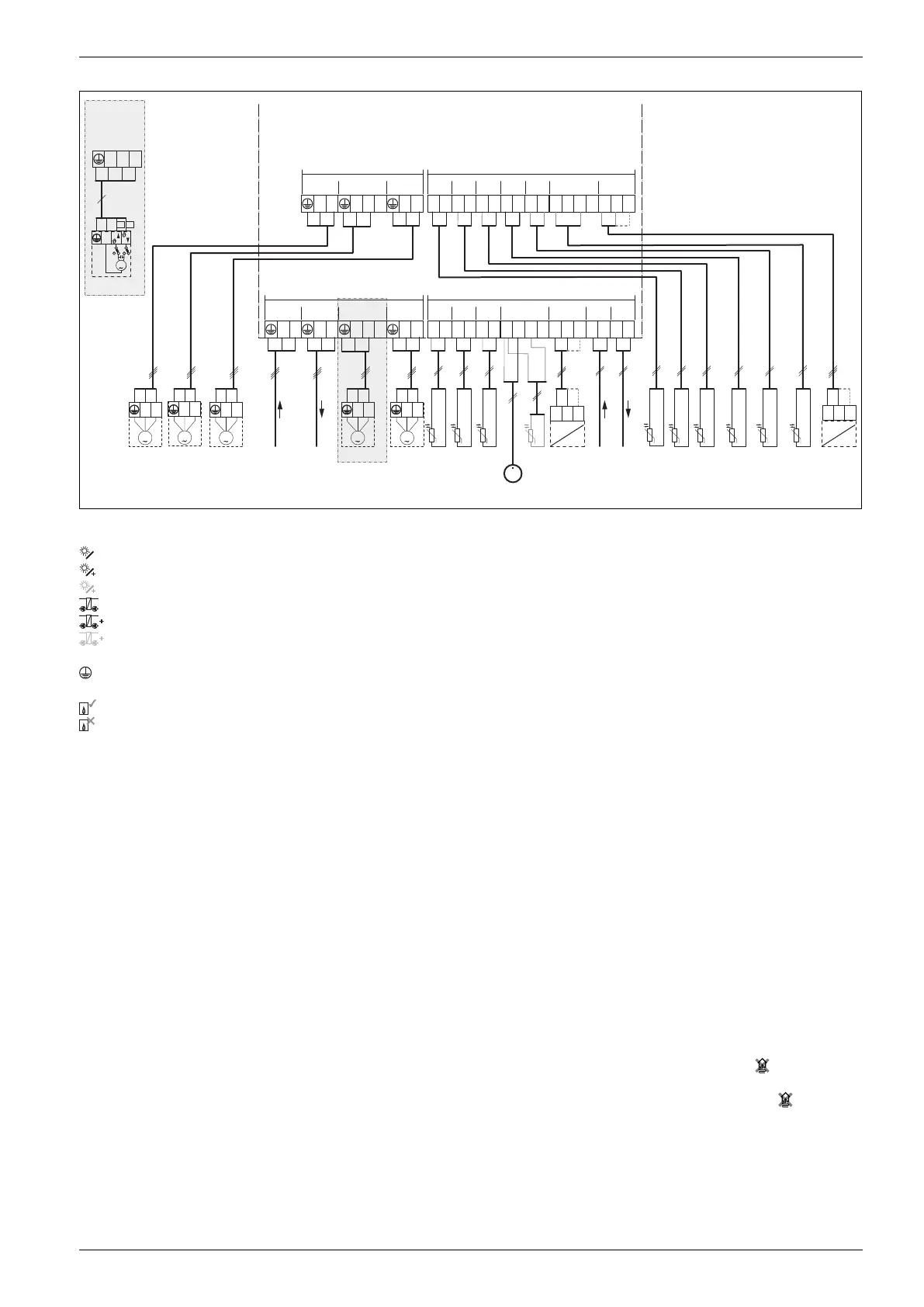
Caption to the figure above and wiring diagrams at the end of this document
(not designating the terminal Table 5 to be used for their designations):
Solar thermal system
Function
Additional function in the solar system (shown in grey)
Transfer or primary store system
Transfer or primary store function
Additional function in the transfer or primary store system
(shown in grey)
Earth lead
Temperature/temperature sensor
BUS connection between heat source and module
No BUS connection between heat source and module
[1] 1st cylinder (transfer system 3 stratification cylinder)
[2] 2nd cylinder (transfer system 3 buffer cylinder)
[3] 3rd cylinder (transfer system 3 standby cylinder)
230 V AC Mains voltage connection
BUS BUS system
M1 Pump or valve controlled via temperature differential
controller
PS1 Solar circuit pump for collector array 1
PS3 Cylinder primary pump for cylinder 2 with pump
(solar system)
PS4 Solar circuit pump for collector array 2
PS5 Cylinder primary pump when using an external heat
exchanger
PS6 Cylinder primary pump for transfer system (solar system)
without heat exchanger (and thermal disinfection)
PS7 Cylinder transfer pump for transfer system (solar system)
with heat exchanger
PS9 Thermal disinfection pump
PS10 Pump for active collector cooling
PS11 Pump on the side of the heat source (primary side)
PS12 Pump on the consumer side (secondary side)
PS13 DHW circulation pump
MS 100 Module for standard solar thermal systems
MS 200 Module for extended solar thermal systems
TS1 Temperature sensor for collector array 1
TS2 Temperature sensor 1 cylinder, bottom
(solar thermal system)
TS3 Temperature sensor 1 cylinder, middle,
(solar thermal system)
TS4 Temperature sensor for heating return to the cylinder
TS5 Temperature sensor 2 cylinder, bottom, or swimming pool
(solar thermal system)
TS6 Heat exchanger temperature sensor
TS7 Temperature sensor for collector array 2
TS8 Temperature sensor for heating return from the cylinder
TS9 Temperature sensor 3; cylinder, top, only connect ton
MS 200 if the module is installed in a BUS system without a
heat source
TS10 Temperature sensor 1 cylinder, top (solar thermal system)
TS11 Temperature sensor 3 cylinder, bottom
(solar thermal system)
TS12 Temperature sensor in flow to solar collector
(heat meter)
TS13 Temperature sensor in solar collector return
(heat meter)
TS14 Heat source temperature sensor
(temperature differential controller)
TS15 Heat sink temperature sensor
(temperature differential controller)
TS16 Temperature sensor 3 cylinder, bottom, or swimming pool
(solar thermal system)
TS17 Heat exchanger temperature sensor
TS18 Cylinder 1 bottom temperature sensor
(transfer/primary store system)
TS19 Cylinder 1 middle temperature sensor
(transfer/primary store system)
TS20 Temperature sensor, 2nd cylinder top (transfer system)
VS1 3-way valve for central heating backup ( )
VS2 3-way valve for cylinder 2 (solar thermal system) with valve
VS3 3-way mixer for return temperature control ( )
VS4 3-way valve for cylinder 3 (solar thermal system) with valve
WM1 Water meter
0 010 013 360-001
NL N N74 N6375L
120/230VAC 120/230VAC
VS1/PS2/PS3
PS1
1212 12
TS1 TS2
BUS
12
BUS
12341
IS1
23
OS1
12
TS3
120/230 V AC
≤ 24 V
1212 12
TS4 TS5
TS7
12
TS8
12341
IS2
23
OS2
12
TS6
≤ 24 V
NN43N634463
VS2 PS4PS5
120/230 V AC
230 V AC 230 V AC BUS BUSTS1 TS2 TS3 TS4 TS5 TS6 TS7 TS8
M
VS3*
N
M
N
4
74 75
N7475N7475N7475
VS1,
PS2, PS3
PS1
PWM
0-10V
123
M
VS1*
NL
M
VS2
NL
M
PS1
NL
M
PS3
NL
M
PS5
NL
MS 200
V
TS13
WM1
TS12 PS3
PWM
0-10V
123

Table of Contents

Related product manuals