EasyManua.ls Logo

Bosch MS 200 - Page 47

Bosch MS 200
176 pages
Go to English
To Next Page IconTo Next Page
To Next Page IconTo Next Page
To Previous Page IconTo Previous Page
To Previous Page IconTo Previous Page
Loading...
Instalación
MS 200 – 6720879925 (2017/11)
47
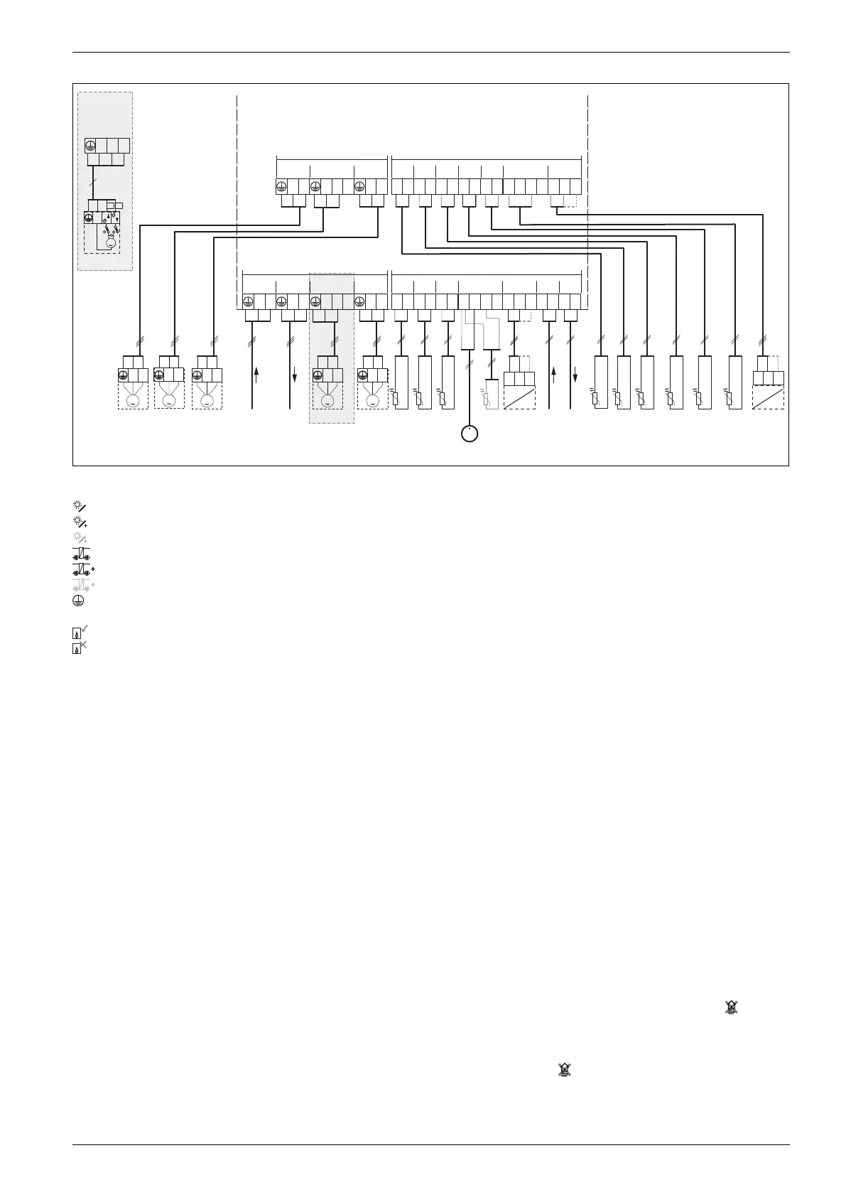
Leyenda de la figura superior y de los esquemas de conexiones con ejemplos de instalaciones al final del documento
(sin designación de los bornes de conexión Tabla 5, para su designación):
Sistema solar
Función
Función adicional en el sistema solar (con fondo gris)
Sistema de carga
Función de carga
Función adicional en el sistema de carga (con fondo gris)
Conductor protector
Temperatura/sensor de temperatura
Conexión de BUS entre el generador de calor y el módulo
Sin conexión de BUS entre el generador de calor y el módulo
[1] 1er. acumulador (sistema de carga 3: Acumulador dinámico)
[2] 2o. acumulador
(sistema de cambio de carga 3: Acumulador de inercia)
[3] 3er. acumulador
(sistema de cambio de carga 3: acumulador de reserva)
230 V AC Conexión de tensión de red
BUS Sistema de BUS
M1 Bomba o válvula activada por regulador de diferencia de tem-
peratura
PS1 Bomba solar campo de colectores 1
PS3 Bomba de carga del acumulador para 2o. acumulador con
bomba (sistema solar)
PS4 Bomba solar campo de colectores 2
PS5 Bomba de carga del acumulador al usar un intercambiador
externo de calor
PS6 Bomba de carga del acumulador para sistema de carga
(sistema solar) sin intercambiador de calor
(y desinfección térmica antilegionella)
PS7 Bomba de carga del acumulador para sistema de carga
(sistema solar) con intercambiador de calor
PS9 Bomba desinfección térmica antilegionela
PS10 Bomba refrigeración activa de colector
PS11 Bomba en lado de generador de calor (lado primario)
PS12 Bomba en lado de consumidor (lado secundario)
PS13 Bomba de recirculación
MS 100 Módulo para sistemas solares estándar
MS 200 Módulo para sistemas solares ampliados
TS1 Sensor de temperatura campo de colectores 1
TS2 Sensor de temperatura 1er. acumulador abajo
(sistema solar)
TS3 Sensor de temperatura 1er. acumulador central
(sistema solar)
TS4 Sonda de temperatura retorno de la calefacción al acumulador
TS5 Sensor de temperatura 2o. acumulador abajo o módulo
(sistema solar)
TS6 Sonda de temperatura intercambiador de calor
TS7 Sensor de temperatura campo de colectores 2
TS8 Sonda de temperatura retorno de la calefacción del acumulador
TS9 Sensor de temperatura en el 3er. acumulador arriba; sólo
conectar a MS 200 si el módulo se instaló en un sistema BUS
sin generador de calor
TS10 Sensor de temperatura 1er. acumulador arriba (sistema solar)
TS11 Sensor de temperatura 3er. acumulador abajo (sistema solar)
TS12 Sonda de temperatura en impulsión al colector solar
(contador de calorías)
TS13 Sonda de temperatura en retorno al colector solar
(contador de calorías)
TS14 Sensor de temperatura fuente de calor
(regulador diferencia de temperatura)
TS15 Sonda de temperatura disipador térmico
(regulador diferencia de temperatura)
TS16 Sensor de temperatura 3o. acumulador abajo o módulo
(sistema solar)
TS17 Sonda de temperatura en intercambiador de calor
TS18 Sensor de temperatura 1er. acumulador abajo
(sistema de carga)
TS19 Sensor de temperatura 1er. acumulador central
(sistema de carga)
TS20 Sensor de temperatura en 2o. acumulador arriba
(sistema de carga)
VS1 Válvula de 3 vías para apoyo de la calefacción ( )
VS2 Válvula de 3 vías para 2o. acumulador (sistema solar) con vál-
vula
VS3 Válvula mezcladora de 3 vías para temperatura de retorno
regulación ( )
VS4 Válvula de 3 vías para 3o. acumulador (sistema solar) con vál-
vula
WM1 Contador de caudal (Water Meter)
0 010 013 360-001
NL N N74 N6375L
120/230VAC 120/230VAC
VS1/PS2/PS3
PS1
1212 12
TS1 TS2
BUS
12
BUS
12341
IS1
23
OS1
12
TS3
120/230 V AC
≤ 24 V
1212 12
TS4 TS5
TS7
12
TS8
12341
IS2
23
OS2
12
TS6
≤ 24 V
NN43N634463
VS2 PS4PS5
120/230 V AC
230 V AC 230 V AC BUS BUSTS1 TS2 TS3 TS4 TS5 TS6 TS7 TS8
M
VS3*
N
M
N
4
74 75
N7475N7475N7475
VS1,
PS2, PS3
PS1
PWM
0-10V
123
M
VS1*
NL
M
VS2
NL
M
PS1
NL
M
PS3
NL
M
PS5
NL
MS 200
V
TS13
WM1
TS12 PS3
PWM
0-10V
123

Table of Contents

Related product manuals