EasyManua.ls Logo

Bosch MS 200 - Page 66

Bosch MS 200
176 pages
Go to English
To Next Page IconTo Next Page
To Next Page IconTo Next Page
To Previous Page IconTo Previous Page
To Previous Page IconTo Previous Page
Loading...
Installatie
MS 200 – 6720879925 (2017/11)
66
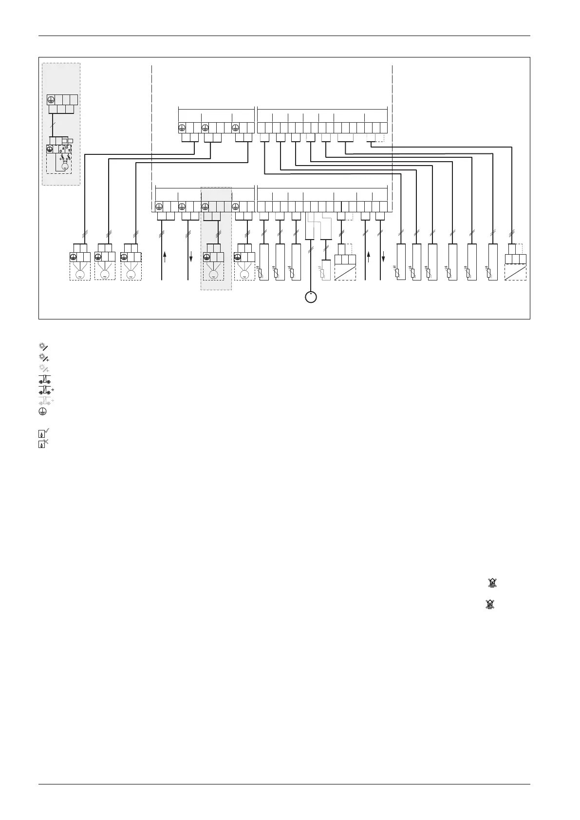
Legenda bij afbeelding boven en bij de aansluitschema's met installatievoorbeelden aan het eind van het document
(geen identificatie van de aansluitklemmen, tabel 5, voor de benaming):
Solarsysteem
Functie
Extra functie in solarsysteem (grijs weergegeven)
Circulatie- of laadsysteem
Circulatie- of laadfunctie
Extra functie in circulatie- of laadsysteem (grijs weergegeven)
Randaarde
Temperatuur/temperatuursensor
BUS-verbinding tussen warmteproducent en module
Geen BUS-verbinding tussen warmteproducent en module
[1] 1e boiler (circulatiesysteem 3: stratificatieboiler)
[2] 2e boiler (circulatiesysteem 3: buffervat)
[3] 3e boiler (circulatiesysteem 3: parate boiler)
230 V AC Aansluiting netspanning
BUS BUS-systeem
M1 Pomp of ventiel aangestuurd via temperatuurverschilregelaar
PS1 Solarpomp collectorveld 1
PS3 Boilerlaadpomp voor 2e boiler met pomp (solarsysteem)
PS4 Solarpomp collectorveld 2
PS5 Boilerlaadpomp bij gebruik van een externe warmtewisselaar
PS6 Boilerlaadpomp voor circulatiesysteem (solarsysteem) zon-
der warmtewisselaar (en thermische desinfectie)
PS7 Boilerlaadpomp voor circulatiesysteem (solarsysteem) met
warmtewisselaar
PS9 Pomp thermische desinfectie
PS10 Pomp actieve collectorkoeling
PS11 Pomp aan de warmteproducentzijde (primaire zijde)
PS12 Pomp aan de verbruikerszijde (secundaire zijde)
PS13 Sanitaire circulatiepomp
MS 100 Module voor standaardsolarinstallaties
MS 200 Module voor uitgebreide solarinstallaties
TS1 Temperatuursensor collectorveld 1
TS2 Temperatuursensor 1e boiler onder (solarsysteem)
TS3 Temperatuursensor 1e boiler midden (solarsysteem)
TS4 Temperatuursensor cv-retour in de boiler
TS5 Temperatuursensor 2e boiler onder of zwembassin
(solarsysteem)
TS6 Temperatuursensor warmtewisselaar
TS7 Temperatuursensor collectorveld 2
TS8 Temperatuursensor cv-retour uit de boiler
TS9 Temperatuursensor 3e boiler boven; alleen op MS 200 aan-
sluiten wanneer de module in een BUS-systeem zonder
warmteproducent is geïnstalleerd
TS10 Temperatuursensor 1e boiler boven (solarsysteem)
TS11 Temperatuursensor 3e boiler onder (solarsysteem)
TS12 Temperatuursensor in aanvoer solarcollector
(warmtehoeveelheidsmeter)
TS13 Temperatuursensor in retour solarcollector
(warmtehoeveelheidsmeter)
TS14 Temperatuursensor warmtebron
(temperatuurverschilregelaar)
TS15 Temperatuursensor koellichaam
(temperatuurverschilregelaar)
TS16 Temperatuursensor 3e boiler onder of zwembassin
(solarsysteem)
TS17 Temperatuursensor op warmtewisselaar
TS18 Temperatuursensor 1e boiler onder
(circulatie-/laadsysteem)
TS19 Temperatuursensor 1e boiler midden
(circulatie-/laadsysteem)
TS20 Temperatuursensor 2e boiler boven (circulatiesysteem)
VS1 3-wegventiel voor verwarmingsondersteuning ( )
VS2 3-wegventiel voor 2e boiler (solarsysteem) met ventiel
VS3 3-wegventiel voor retourtemperatuurregeling ( )
VS4 3-wegventiel voor 3e boiler (solarsysteem) met ventiel
WM1 Debietmeter (watermeter)
0 010 013 360-001
NL N N74 N6375L
120/230VAC 120/230VAC
VS1/PS2/PS3
PS1
1212 12
TS1 TS2
BUS
12
BUS
12341
IS1
23
OS1
12
TS3
120/230 V AC
≤ 24 V
1212 12
TS4 TS5
TS7
12
TS8
12341
IS2
23
OS2
12
TS6
≤ 24 V
NN43N634463
VS2 PS4PS5
120/230 V AC
230 V AC 230 V AC BUS BUSTS1 TS2 TS3 TS4 TS5 TS6 TS7 TS8
M
VS3*
N
M
N
4
74 75
N7475N7475N7475
VS1,
PS2, PS3
PS1
PWM
0-10V
123
M
VS1*
NL
M
VS2
NL
M
PS1
NL
M
PS3
NL
M
PS5
NL
MS 200
V
TS13
WM1
TS12 PS3
PWM
0-10V
123

Table of Contents

Related product manuals