EasyManua.ls Logo

Bosch Plena LBB 1925 - Page 25

Bosch Plena LBB 1925
72 pages
Print Icon
To Next Page IconTo Next Page
To Next Page IconTo Next Page
To Previous Page IconTo Previous Page
To Previous Page IconTo Previous Page
Loading...
PLENA SYSTEM PRE-AMPLIFIER AND CALL STATIONS
15
D614
RL606 D613
RL605 RL604 RL603 RL602 RL601
RL611RL612
J4
J3
CN21
Override
24V dc
100V
audio
CN24
RL610
RL611RL612 RL610 RL609
25-6 3938 101 90272
RL608 RL607
CN22 CN20
RL609
D605D606 D604 D603
RL608
D602
RL607
D601
CN3
CL 14155025_022
131101
LOCAL VOLUME
CONTROL
OVERRIDE
AMPLIFIER
3-wire (zone 1-6)
0V
100V
CL 14155025_024
061101
LOCAL VOLUME CONTROL
OVERRIDE
AMPLIFIER
4-wire (zone 1-6)
0V
100V
24V
DC Out 24V (-)
CL 14155025_025
061101
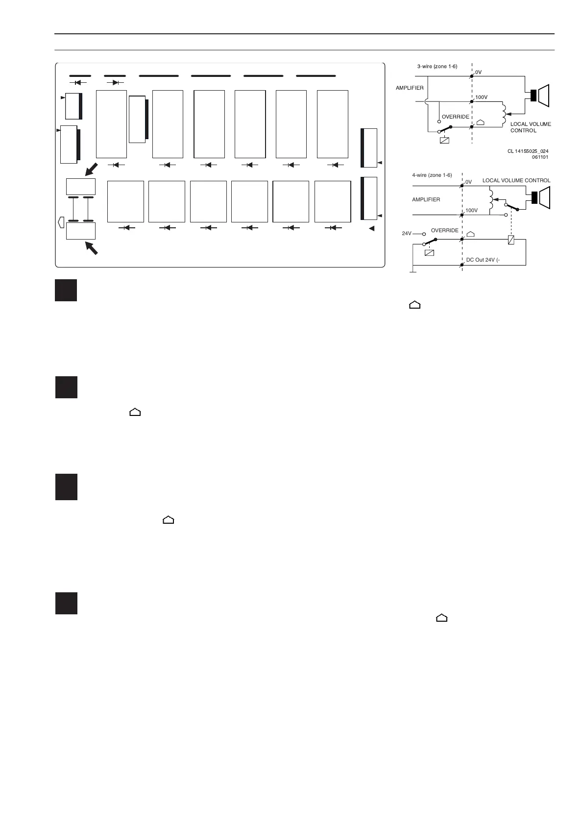
Jumpers J3 and J4 select whether the override output for each zone (indicated by ) is switching between the 0V and
100V loudspeaker signal, or between ground and 24Vdc. This override output is available per zone and may be used to
override local volume controls, to make sure that calls are coming through. For 3-wire volume override, the jumpers
should be in 100V audio position. For 4-wire override the jumpers should be in 24Vdc position. The drawings show the
principle of 3- and 4-wire volume override. The override outputs are activated whenever a call is made, when the
emergency input is activated, or an alarm or time signal is triggered. At the same time also the Call Active relay is
activated, providing a potential free contact.
en
Override contact setting
Les cavaliers J3 et J4 sont utilisés pour définir le mode utilisé pour activer un rétablissement de niveau datténuateurs
(repéré par ) soit entre le 0V et le 100V ou entre la masse et le 24Vdc. Ce rétablissement est disponible par zone et
peut être utilisé pour rétablir le niveau datténuateur(s) pour être sur que les messages seront bien entendus. Si vous
utilisez 3 câbles, les cavaliers devront être sur la position audio 100V. Si vous utilisez 4 câbles les cavaliers devront
être sur la position 24Vdc. Le schéma vous montre le principe de câblage 3 ou 4 fils. Les contacts seront activés quand
un message est diffusé, quand lentrée durgence est activée ou quand une tonalité d’évacuation est activée. De plus,
quand un appel est envoyé, un contact est activé.
fr
Rétablissement de niveau pour des atténuateurs
Die Steckbrücken J3 und J4 bestimmen, ob der Ausgang zur Umgehung der Lautstärkeregelung in den einzelnen
Zonen (Anzeige mit ) zwischen den Lautsprechersignalen 0V und 100V oder zwischen Masse und 24 V DC
umschaltet. Dieser Ausgang ist für jede Zone vorhanden und kann zur Umgehung der lokalen Lautstärkeregelung
genutzt werden, um zu gewährleisten, daß die Durchsagen mit Sicherheit gehört werden. Für die Umgehung in 3-Draht-
Technik müssen die Steckbrücken in der Stellung für 100 V Audio stehen. Für die Umgehung in 4-Draht-Technik gilt die
Stellung 24 V DC. Die Zeichnungen zeigen das Funktionsprinzip der Umgehung in 3- und 4- Draht-Technik. Die
Ausgänge zur Umgehung werden während der Durchsagen, eines Alarms oder eines Zeitsignals aktiviert. Gleichzeitig
schaltet der potentialfreie Kontakt des Durchsagerelais.
de
Einstellung zur Umgehung der lokalen Lautstärkeregelung
De jumpers J3 en J4 bepalen of de override-aansluiting van elke zone (aangegeven door ) schakelt tussen het 0V en
100V luidsprekersignaal, of tussen massa en 24Vdc. Deze override-uitgang is beschikbaar per zone en kan worden
gebruikt om lokale volumeregelaars te overbruggen om er zeker van te zijn dat oproepen doorkomen. Voor 3-draads
volume override moeten de jumpers in de 100V audio-positie worden gezet. Voor 4-draads volume override moeten de
jumpers in de 24Vdc positie staan. De tekeningen laten de werking van 3- en 4-draads volume override zien. De
override-uitgangen worden steeds geactiveerd als een oproep wordt gemaakt, als de emergency-ingang wordt
geactiveerd, of als een alarm- of tijdsignaal-ingang wordt getriggerd. Tegelijkertijd wordt ook het Call Active relais
geactiveerd met een spanningsvrij maak-contact.
nl
Instellen van het override-contact

Table of Contents

Related product manuals