EasyManua.ls Logo

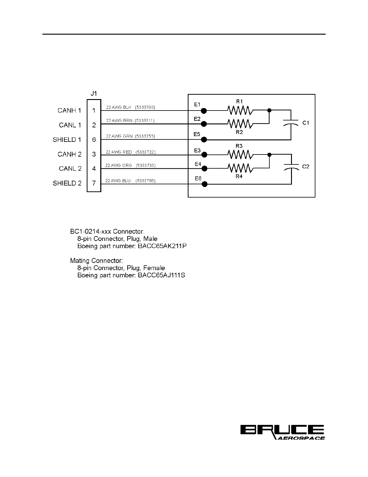
Bruce BR3000-330-2CL - Figure 13 BC1-0216 CAN Bus Terminator Pin-Out

Default Icon
81 pages
Print Icon
To Next Page IconTo Next Page
To Next Page IconTo Next Page
To Previous Page IconTo Previous Page
To Previous Page IconTo Previous Page
Loading...
BR3000-330-2CL,-3CL,-2EN CMM and IPL
Figure 13 BC1-0216 CAN Bus Terminator Pin-Out
Document No. 33-21-57, Rev. A
Page 27

Table of Contents