EasyManua.ls Logo

Bryant 350MAV - Page 24

Bryant 350MAV
44 pages
Print Icon
To Next Page IconTo Next Page
To Next Page IconTo Next Page
To Previous Page IconTo Previous Page
To Previous Page IconTo Previous Page
Loading...
NOTE: Moisture in combustion-air intake may be result of
improper termination. Ensure combustion-air intake pipe is similar
to that shown in Fig. 30, 31, 32, 33, and 34 so it will not be
susceptible to areas where light snow or other sources of moisture
could be pulled in.
If use of this drain connection is desired, drill out fittings tap plug
with a 3/16-in. drill and connect a field-supplied 3/8-in. tube. This
tube should be routed to open condensate drain for furnace and
A/C (if used), and should be trapped. (See Fig. 29.)
2. Attach vent pipe as follows:
a. Determine location of vent pipe connection to inducer
housing as shown in Fig. 27 for application.
b. Reposition elastomeric (rubber) inducer housing outlet
cap and clamp to appropriate unused inducer housing
connection. Tighten clamp.
WARNING: Inducer housing outlet cap must be in-
stalled and fully seated against inducer housing. Clamp
must be tightened to prevent any condensate leakage.
Failure to follow this warning could result in electrical
shock, fire, personal injury, or death.
c. Install pipe support (factory-supplied in loose parts bag)
into selected furnace casing vent pipe hole. Pipe support
should be positioned at bottom of casing hole.
d. Be certain that mating surfaces of inducer housing
connection, elastomeric coupling, and 2-in. diameter
vent pipe are clean and dry. Assemble the elastomeric
(rubber) vent coupling (with 2 loose clamps) onto
inducer housing connection. Insert the 2-in. diameter
vent pipe through the elastomeric (rubber) coupling and
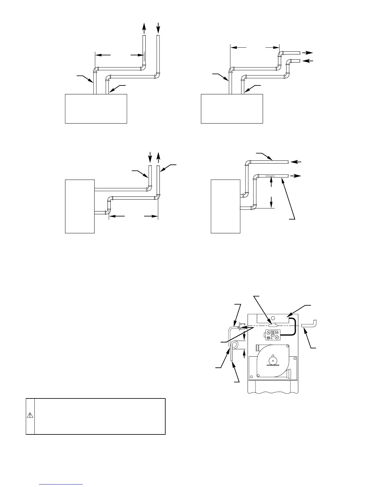
Fig. 28Short Vent (5 to 8 Ft) System
A96230
HORIZONTAL TO ROOF HORIZONTAL TO SIDEWALL
VERTICAL TO SIDEWALLVERTICAL TO ROOF
VENT PIPE
COMBUSTION-AIR PIPE COMBUSTION-AIR PIPE
VENT PIPE
COMBUSTION-AIR PIPE
VENT PIPE
COMBUSTION-AIR PIPE
VENT PIPE
12 MIN
12 MIN
12 MIN
12 MIN
NOTE: A 12 In. minimum offset pipe section is recommended with
short (5 to 8 ft) vent systems. This recommendation is to reduce
excessive condensate droplets from exiting the vent pipe.
Fig. 29Intake Housing Plug Fitting Drain
A93035
COMBUSTION
AIR PIPE
BURNER
BOX
COMBUSTION AIR
INTAKE HOUSING
3/8" ID TUBE
TRAP
TO OPEN
DRAIN
3/16"
DRILL
4
MIN
24

Other manuals for Bryant 350MAV

Related product manuals