EasyManua.ls Logo

Bryant 394U - Counterflow Wiring Diagrams

Bryant 394U
18 pages
Print Icon
To Next Page IconTo Next Page
To Next Page IconTo Next Page
To Previous Page IconTo Previous Page
To Previous Page IconTo Previous Page
Loading...
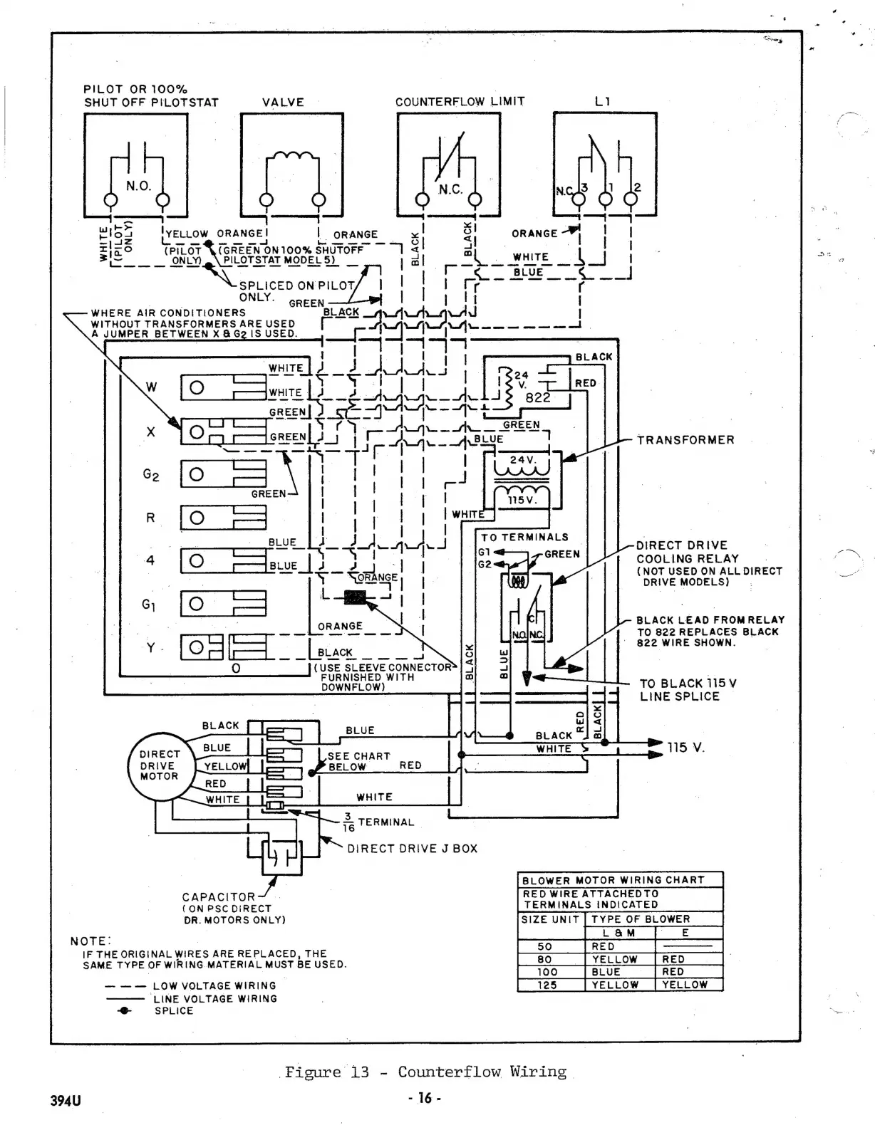
PILOT
ΟΠ
100%
:
SHUT
OFF
PILOTSTAT
VALVE
|
COUNTERFLOW
LIMIT
k>
|
HE
uio
YELLOW
ORANGE!
RANG
raz
ι.
ιών
τως.
ο
2
ORANGE
~
ro
(PILOT
X(GREEN
ON
10096
SHUTOFF
54
Ἐς.
ONLOGNPILOTSTATMODELS5)—
τα!
...Ν..
WHITE
ων
WHERE
AIR
CONDITIONERS
WITHOUT
TRANSFORMERS
ARE
USED
A
JUMPER
BETWEEN
X
&
G2
IS
USED.
TRANSFORMER
TERMINALS
:
|
me
DIRECT
DRIVE
p
COOLING
RELAY
"e
T
(NOT
USED
ON
ALL
DIRECT
É
DRIVE
MODELS)
.
BLACK
LEAD
FROM
RELAY
TO
822
REPLACES
BLACK
822
WIRE
SHOWN.
(
USE
SLEEVE
CONNECTOR
DOWNFLOW)
TO
BLACK
115
V
LINE
SPLICE
Í
DIRECT
115
V.
DRIVE
|
MOTOR
τν
3
|
τε
TERMINAL
|
DIRECT
DRIVE
J
BOX
BLOWER
MOTOR
WIRING
CHART
|
RED
WIRE
ATTACHEDTO
TERMINALS
INDICATED
{SIZE
UNIT
|
TYPE
OF
BLOWER
|
50
|
[RED
|
|
80
YELLOW
|
|
|
100
Ίβιυε
|
LOW
VOLTAGE
WIRING
LINE
VOLTAGE
WIRING
G-
SPLICE
:
ὅκα
οὖ
CAPACITOR
(
ON
PSC
DIRECT
DR.
MOTORS
ONLY)
NOTE:
IF
THE
ORIGINAL
WIRES
ARE
REPLACED,
THE
ΦΑΜΕ
TYPE
OF
WIRING
MATERIAL
MUST
BE
USED.
YELLOW
Figure
13
-
Counterflow,
Wiring
394U
-
16
-

Other manuals for Bryant 394U

Related product manuals