EasyManua.ls Logo

Bryant 394U - Belt Drive Wiring Diagrams

Bryant 394U
18 pages
Print Icon
To Next Page IconTo Next Page
To Next Page IconTo Next Page
To Previous Page IconTo Previous Page
To Previous Page IconTo Previous Page
Loading...
PILOT
OR
100%
SHUT
OFF
PILOTSTAT
`
VALVE
i
H
>
|
Flos
YELLOW
ORANGE!
|
ORANGE
--[.
f
aa
p
EO
(PILOT
A
(GREEN
ON
100%
SHUTOFF
^
Τις...
ONLY)
g\
PILOTSTAT
MODEL
5)
_
|
SPLICED
ONPILOT/
|
|
ONLY.
|
WHERE
AIR
CONDITIONERS
GREEN
|
WITHOUT
TRANSFORMERS
ARE
USED
|
A
JUMPER
BETWEEN
X
&
G2
IS
USED.
|
EE
waite
ÀJ
=
|
Bee
-
|
|
V
|
MS
varh.
J
822
wee
N
AR
τε
"GREEN.
rae
A
BLUE
E
NOTE:
IF
THE
ORIGINAL
WIRES
ARE
REPLACED,
THE
SAME
TYPE
OF
WIRING
MATERIAL
MUST
BE
USED.
LOW
VOLTAGE
WIRING
LINE
VOLTAGE
WIRING
-9-
SPLICE
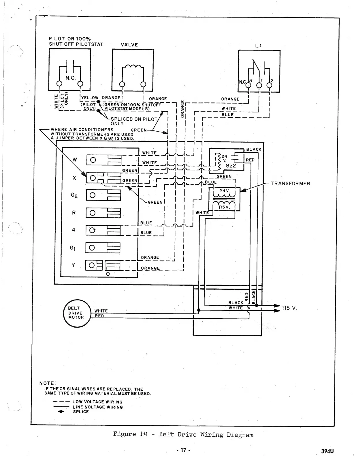
Figure
lH
-
Belt
Drive
Wiring
Diagram
-
17
-
TRANSFORMER
P-
115
V.
394U

Other manuals for Bryant 394U

Related product manuals