EasyManua.ls Logo

Bryant A180218B - Page 82

Bryant A180218B
94 pages
Print Icon
To Next Page IconTo Next Page
To Next Page IconTo Next Page
To Previous Page IconTo Previous Page
To Previous Page IconTo Previous Page
Loading...
82
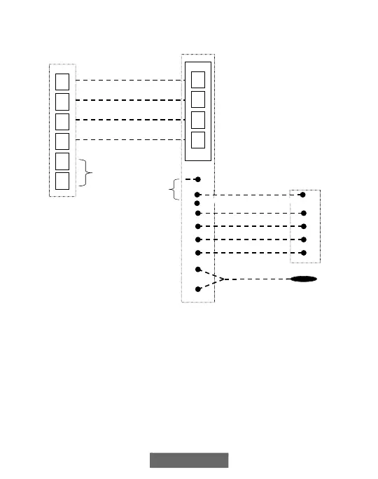
A12355
Connection Diagram for FE Fan Coil with
Non-communication
1-Stage Heat Pump
A
B
C
D
A
B
C
D
ABCD
Connection
User Interface
1-Spd.
Non-communicating
HP
Green - Data A
Yellow - Data B
White - COM
Red - 24VAC
Optional Remote
Room Sensor
HUM
C
Humidifier
Connection
Y
S2
S1
W2
Y
O
C
R
O
R
W
OAT
OAT
Sensor
Variable-Speed
Fan Coil
G

Table of Contents

Related product manuals