EasyManua.ls Logo

Candy CIS633MCTT - Panel de Mandos

Candy CIS633MCTT
322 pages
Print Icon
To Next Page IconTo Next Page
To Next Page IconTo Next Page
To Previous Page IconTo Previous Page
To Previous Page IconTo Previous Page
Loading...
ES-11
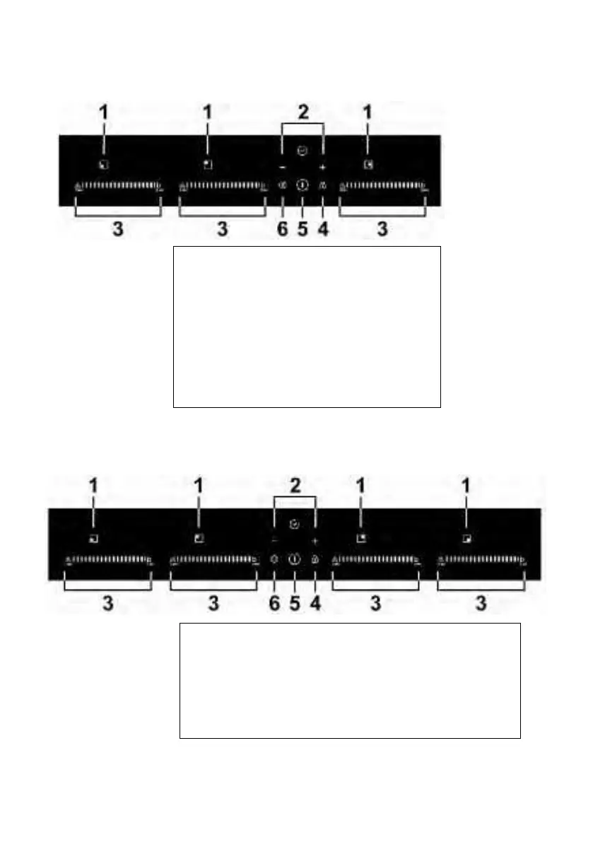
Panel de m a ndos
Mode lo: CI
S6 3 3 M CTT
1. Indicador de selección de zona de
cocción
2. Mando del temporizador
3. Botón de regulación de
potencia/ m ando de potencia
extra/ m ando para m antener
caliente
4. Mando de bloqueo
5. Botón de encendido/ apagado
6. Mando de pausa
Mode lo: CI S6 4 2 MCTT
1. I ndicador d
e selección de zona de cocción
2. Mando del tem porizador
3. Botón de regulación de potencia/ m ando de
potencia extra/ m ando para m antener caliente
4. Mando de bloqueo
5. Botón de encendido/ apagado
6. Mando de pausa

Table of Contents

Related product manuals