EasyManua.ls Logo

Candy CIS633MCTT - Pannello Comandi

Candy CIS633MCTT
322 pages
Print Icon
To Next Page IconTo Next Page
To Next Page IconTo Next Page
To Previous Page IconTo Previous Page
To Previous Page IconTo Previous Page
Loading...
IT-11
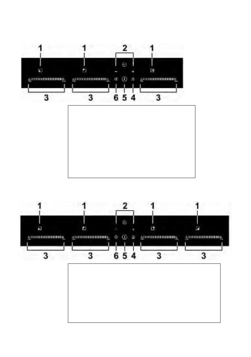
Panne llo com andi
Mode llo: CI S6 3 3 MCTT
1. Indicatore selezione zona di
riscaldam ento
2. Controllo tim er
3. Tasto di regolazione della
potenza/ controllo della funzione
boost/ controllo della funzione Keep
War m
4. Blocco com andi
5. Tasto ON/ OFF
6. Controllo Stop+ Go
Mode llo: CI S6 4 2 MCTT
1. I ndicatore selezione zona di riscaldam ento
2. Controllo tim er
3. Tasto di regolazione della potenza/ cont rollo della
funzione boost/ controllo della funzione Keep
War m
4. Blocco comandi
5. Tasto ON/ OFF
6. Controllo Stop+ Go

Table of Contents

Related product manuals