EasyManua.ls Logo

Candy CIS633MCTT - Panneau de Commande

Candy CIS633MCTT
322 pages
Print Icon
To Next Page IconTo Next Page
To Next Page IconTo Next Page
To Previous Page IconTo Previous Page
To Previous Page IconTo Previous Page
Loading...
FR-11
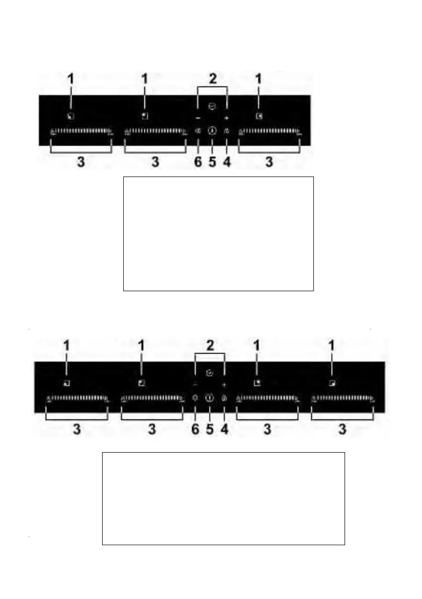
Pa nne a u de com m a nde
Modè le : CI S6 3 3 M CTT
1. Indicateur de sélection du foyer de
cuisson
2. Touche du temporisateur
3. Touche de réglage de la
puissance/ Touche Fonction
Boost/ Touche Fonction Maintien au
chaud
4. Touche de verrouillage
5. Tou che m arche/ arrêt
6. Touche Pause
Modè le : CI S6 4 2 M CTT
1. Indicateur de sélection du foyer de cuisson
2. Touche du tem porisateur
3. Touche de réglage de la puissance/ Touche
Fonction Boost/ Touche Fonction Maintien au
chaud
4. Touche de verrouillage
5. To u che marche/ arrêt
6. Touche Pause

Table of Contents

Related product manuals