EasyManua.ls Logo

Candy CIS633MCTT - Restrictions When Using

Candy CIS633MCTT
322 pages
Print Icon
To Next Page IconTo Next Page
To Next Page IconTo Next Page
To Previous Page IconTo Previous Page
To Previous Page IconTo Previous Page
Loading...
EN-16
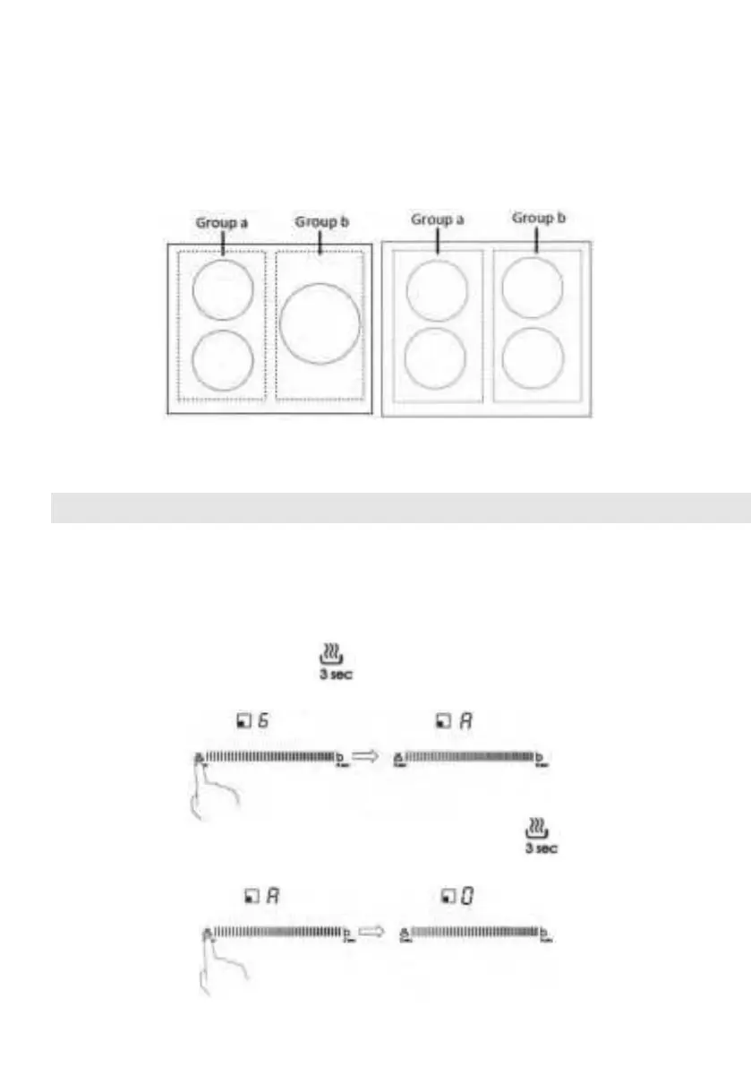
Restrictions when using
The three or four zones were divided into two groups. In one group, if use boost on
one zone, first make sure that the other zone is working on/below power level 5.
Using the Keep warm
Keep warm is the function that one zone keep a lower power to make the
temperature stable.
Using the Keep warm to get stable temperature
Touch the left point of the slider that you wish to keep warm, then hold the
button for 3 second,
t
he cooking zone indicator will display “A”.
2
. If you want to cancel the keep warm, touch the button for 3 second. The
heating zone will go back to “0” power stage.

Table of Contents

Related product manuals