EasyManua.ls Logo

Candy CIS633MCTT - Panel Sterowania

Candy CIS633MCTT
322 pages
Print Icon
To Next Page IconTo Next Page
To Next Page IconTo Next Page
To Previous Page IconTo Previous Page
To Previous Page IconTo Previous Page
Loading...
PL-10
Panel sterowania
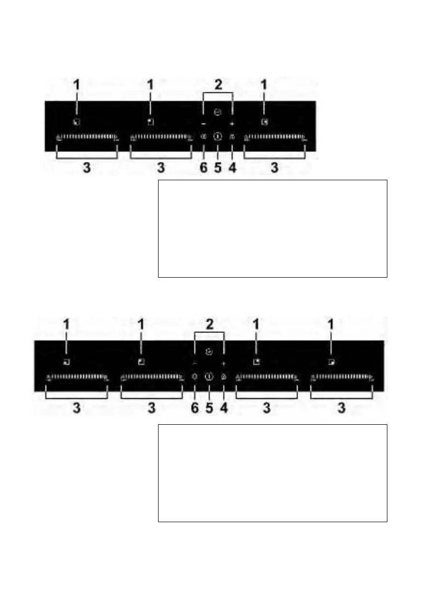
Model: CI633MCTT
1. Przyciski sterowania wyborem strefy grzewczej
2. Przycisk regulatora czasowego
3. Przycisk regulacji mocy / Przycisk funkcji Boost /
Przycisk funkcji podtrzymania temperatury
4. Przycisk blokady
5. Przycisk włączania/wyłączania
6. Przycisk zatrzymywania i uruchamiania funkcji
Model: CI642MCTT
1. Przyciski sterowania wyborem strefy grzewczej
2. Przycisk regulatora czasowego
3. Przycisk regulacji mocy / Przycisk funkcji Boost /
Przycisk funkcji podtrzymania temperatury
4. Przycisk blokady
5. Przycisk włączania/wyłączania
6. Przycisk zatrzymywania i uruchamiania funkcji

Table of Contents

Related product manuals