EasyManua.ls Logo

Candy CIS633MCTT - Панель Управления

Candy CIS633MCTT
322 pages
Print Icon
To Next Page IconTo Next Page
To Next Page IconTo Next Page
To Previous Page IconTo Previous Page
To Previous Page IconTo Previous Page
Loading...
RU-11
Панель управления
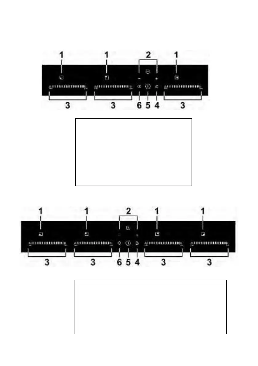
Модель: CI S6 3 3 M CTT
1. Индикатор работы конфорки
2. Таймер
3. Кнопки выбора
мощности/включения
повышения мощности/функции
сохранения пищи тёплой
4. Кнопка блокировки панели
управления
5. Кнопка ВКЛ/ВЫКЛ
6. Кнопка паузы
Модель: CI S6 4 2 M CTT
1. Индикатор работы конфорки
2. Таймер
3. Кнопки выбора мощности/включения
повышения мощности/функции сохранения
пищи тёплой
4. Кнопка блокировки панели управления
5. Кнопка ВКЛ/ВЫКЛ
6. Кнопка паузы

Table of Contents

Related product manuals