EasyManua.ls Logo

Candy CIS633MCTT - Ovládací Panel

Candy CIS633MCTT
322 pages
Print Icon
To Next Page IconTo Next Page
To Next Page IconTo Next Page
To Previous Page IconTo Previous Page
To Previous Page IconTo Previous Page
Loading...
CZ-9
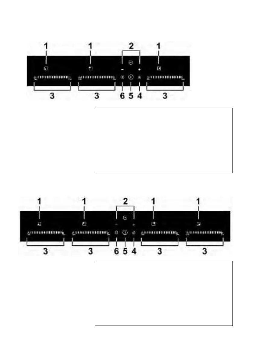
Ovládací panel
Model: CI633MCTT
1. Ovladače volby varné zóny
2. Ovladač časovače
3. Tlačítko pro regulaci výkonu/ Ovladač funkce
zesílení výkonu (boost)/ Ovladač funkce udržování
teplých pokrmů
4. Ovladač zablokování tlačítek
5. Ovladač ZAP/VYP
6. Ovladač funkce „Stop and go“ (Zastavit a jít)
Model: CI642MCTT
1. Ovladače volby varné zóny
2. Ovladač časovače
3. Tlačítko pro regulaci výkonu/ Ovladač funkce
zesílení výkonu (boost)/ Ovladač funkce udržování
teplých pokrmů
4. Ovladač zablokování tlačítek
5. Ovladač ZAP/VYP
6. Ovladač funkce „Stop and go“ (Zastavit a jít)

Table of Contents

Related product manuals