EasyManua.ls Logo

Candy CIS633MCTT - Page 180

Candy CIS633MCTT
322 pages
Print Icon
To Next Page IconTo Next Page
To Next Page IconTo Next Page
To Previous Page IconTo Previous Page
To Previous Page IconTo Previous Page
Loading...
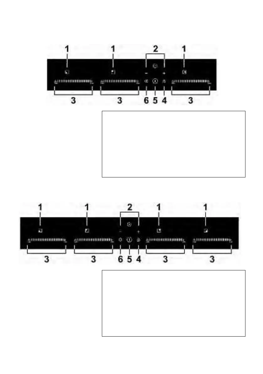
PT-11
Pain el de con t rolo
M
ode lo: CI S6 3 3 M CTT
1. C
ontrolos de seleção das zonas de indução
2. Controlo temporizador
3. Chave de regulação da Potência / Controlo
da função Boost / Controlo da função
mant er quente
4. Controlo chave de bloqueio
5. Controlo ON/ OFF (LIGAR/ DESLIGAR)
6. Controlo da função Stop/ I niciar
M
ode lo: CI S6 4 2 M CTT
1. C
ontrolos de seleção das zonas de indução
2. Controlo temporizador
3. Chave de regulação da Potência / Controlo
da função Boost / Controlo da função
mant er quente
4. Controlo chave de bloqueio
5. Controlo ON/ OFF (LIGAR/ DESLIGAR)
6. Controlo da função Stop/ I niciar

Table of Contents

Related product manuals