EasyManua.ls Logo

Candy CIS633MCTT - Page 271

Candy CIS633MCTT
322 pages
Print Icon
To Next Page IconTo Next Page
To Next Page IconTo Next Page
To Previous Page IconTo Previous Page
To Previous Page IconTo Previous Page
Loading...
SK-9
Ovládací panel
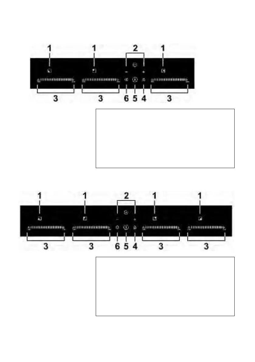
Model: CIS633MCTT
1. Ovládače výberu ohrevnej zóny
2. Ovládač časovača
3. Tlačidlo na ovládanie výkonu/Ovládač funkcie
Boost/ Ovládač funkcie udržiavania teploty
4. Ovládač uzamknutia tlačidiel
5. Vypínač Zapnúť/Vypnúť
6. Ovládač funkcie zastavenia a spustenia
Model: CIS642MCTT
1. Ovládače výberu ohrevnej zóny
2. Ovládač časovača
3. Tlačidlo na ovládanie výkonu/Ovládač funkcie
Boost/ Ovládač funkcie udržiavania teploty
4. Ovládač uzamknutia tlačidiel
5. Vypínač Zapnúť/Vypnúť
6. Ovládač funkcie zastavenia a spustenia

Table of Contents

Related product manuals