EasyManua.ls Logo

Candy CIS633MCTT - Page 85

Candy CIS633MCTT
322 pages
Print Icon
To Next Page IconTo Next Page
To Next Page IconTo Next Page
To Previous Page IconTo Previous Page
To Previous Page IconTo Previous Page
Loading...
FR-19
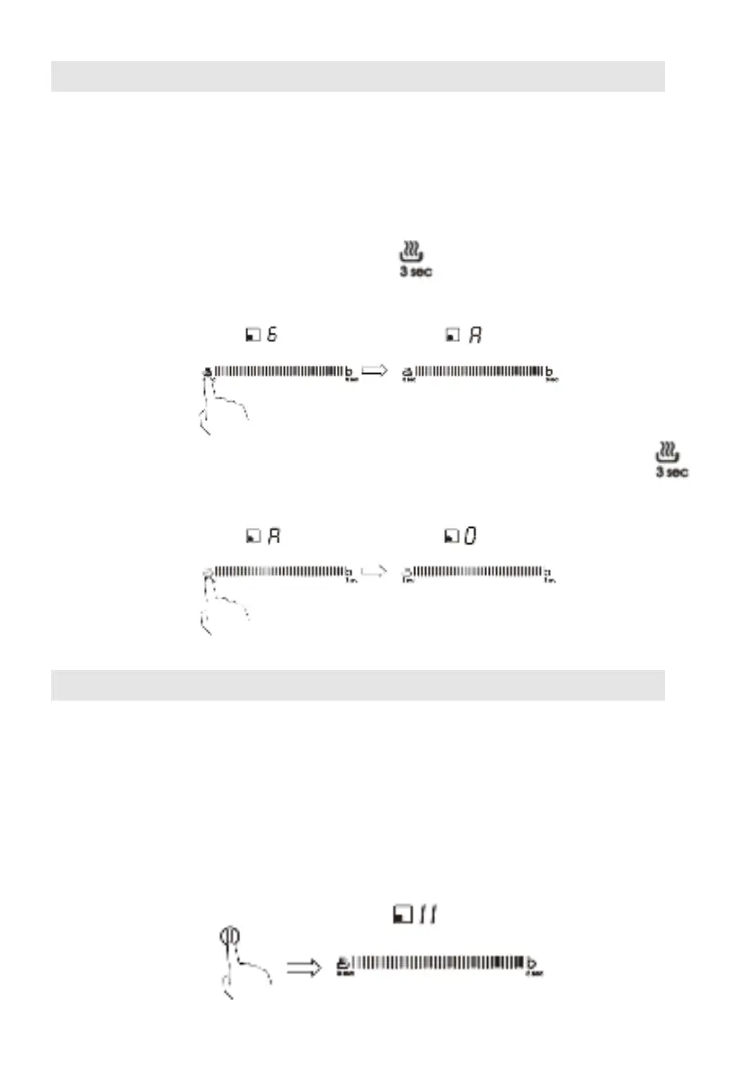
Ut ilisat ion de la fonct ion Ma int ien a u chaud
La fonction m aintien au chaud permet de maintenir un foyer à une puissance
plus faible afin que la température soit stable.
Utilisa t ion de la fonct ion M a int ie n a u cha ud pour
obtenir une t em péra t ur e st a ble
Appuyez pendant 3 secondes sur le point gauche de léchelle du foyer que
vous souhaitez maintenir au chaud ; lindicateur du foyer de cuisson affichera
« A ».
2. Si vous souhaitez arrêter le maintien au chaud, appuyez sur la touche
pendant 3 secondes. Le foyer de cuisson reviendra au niveau de puissance
« 0 ».
Ut ilisat ion de la fonct ion Pause ( STOP+ GO)
La fonction Pause peut être utilie à tout moment pendant la cuisson. Elle
perm et déteindre puis de rallum er la table de cuisson à induction.
1. Assurez-vous que le foyer de cuisson fonctionne.
2. Appuyez sur la touche PAUSE, lindicateur du foyer de cuisson indiquera
« ll ».
Le fonctionnem ent de tous les foyers de la table de cuisson à induction sera
désactivé, à lexception des touches PAUSE, Marche/ Arrêt et des touches de
verrouillage.

Table of Contents

Related product manuals