EasyManua.ls Logo

Caple C847I - Product Overview

Caple C847I
32 pages
Print Icon
To Next Page IconTo Next Page
To Next Page IconTo Next Page
To Previous Page IconTo Previous Page
To Previous Page IconTo Previous Page
Loading...
Instruction manual C847i 11
Please keep this instruction manual for future reference
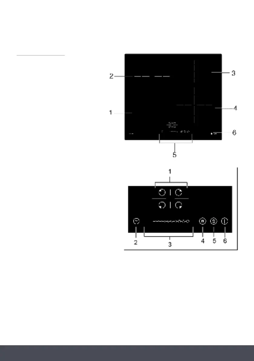
PRODUCT OVERVIEW
TOP VIEW
1. Max. 1200/1500 W zone
2. Max. 2300/2600 W zone
3. Max. 1200/1500 W zone
4. Max. 2300/2600 W zone
5. Control panel
6. Glass plate
CONTROL PANEL
1. Heating zone selection controls
2. Timer control
3. Power / Timer slider touch control
4. Boost control
5. Keylock control
6. ON/OFF control

Related product manuals