EasyManua.ls Logo

Carrier 38MHRCQ12AA3 - Refrigeration Cycle Diagrams

Carrier 38MHRCQ12AA3
60 pages
To Next Page IconTo Next Page
To Next Page IconTo Next Page
To Previous Page IconTo Previous Page
To Previous Page IconTo Previous Page
Loading...
SG-38MHRC-01 Specifications subject to change without notice. 15
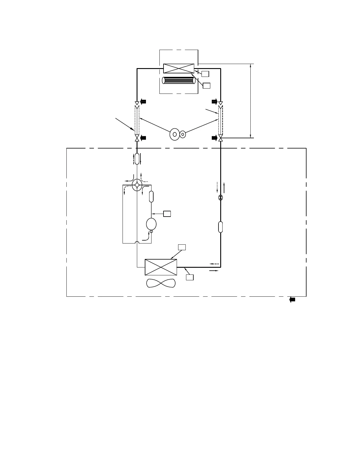
REFRIGERATION CYCLE DIAGRAMS
Fig. 12 — Size 12K - 115V and 208/230V
T4
T3
TP
T2
T1
INDOOR UNIT
Indoor heat
exchanger
Cross ow fan
Deoxidized copper pipe
Outer dia: 0.25 in( 6.35 mm)
{
{
Sectional shape
of insulation
Allowable height
dierence: 33 ft/ 10 m
Allowable pipe length
Capillary
Strainer
Propeller fan
Outdoor heat
exchanger
Compressor
Muer
4-way valve
Muer
Deoxidized copper pipe
Outer dia:
0.5
in( 12.7 mm)
{
{
Pressure measurement
Gauge attaching port
Vaccum pump connecting port
Max : 82 ft( 25 m)
Min : 10 ft( 3 m)
Pre-charged: 25 ft( 7.5
m)
Charge : 0.161 oz/ft
OUTDOOR UNIT
NOTE: Gas leak check position
Refrigerant ow (Cooling = solid arrow)
Refrigerant ow (Heating = dashed arrow)
PRE-CHARGED

Table of Contents

Related product manuals