EasyManua.ls Logo

Carrier 59TP6A - WINTERIZATION

Carrier 59TP6A
92 pages
Print Icon
To Next Page IconTo Next Page
To Next Page IconTo Next Page
To Previous Page IconTo Previous Page
To Previous Page IconTo Previous Page
Loading...
82
WINTERIZATION
UNIT AND PROPERTY DAMAGE HAZARD
Failure to follow this caution may result in unit component or
property damage.
If the furnace is installed in an unconditioned space where the
ambient temperatures may be 32_ F(0_ C) or lower, freeze
protection measures must be taken to prevent minor property
or product damage.
CAUTION
!
Since the furnace uses a condensing heat exchanger, some water
will accumulate in the unit as a result of the heat transfer process.
Therefore, once it has been operated, it cannot be turned off and
left off for an extended period of time when temperatures will
reach 32_F(0_C) or lower unless winterized. Follow these
procedures to winterize your furnace:
UNIT COMPONENT DAMAGE HAZARD
Failure to follow this caution may result in damage to the
furnace and other property damage.
Do not use ethylene glycol (automotive antifreeze coolant or
equivalent). Failure of plastic components may occur.
CAUTION
!
1. Obtain propylene glycol (RV/swimming pool antifreeze or
equivalent).
2. Turn off gas and electrical supplies to your furnace.
3. Remove furnace control door.
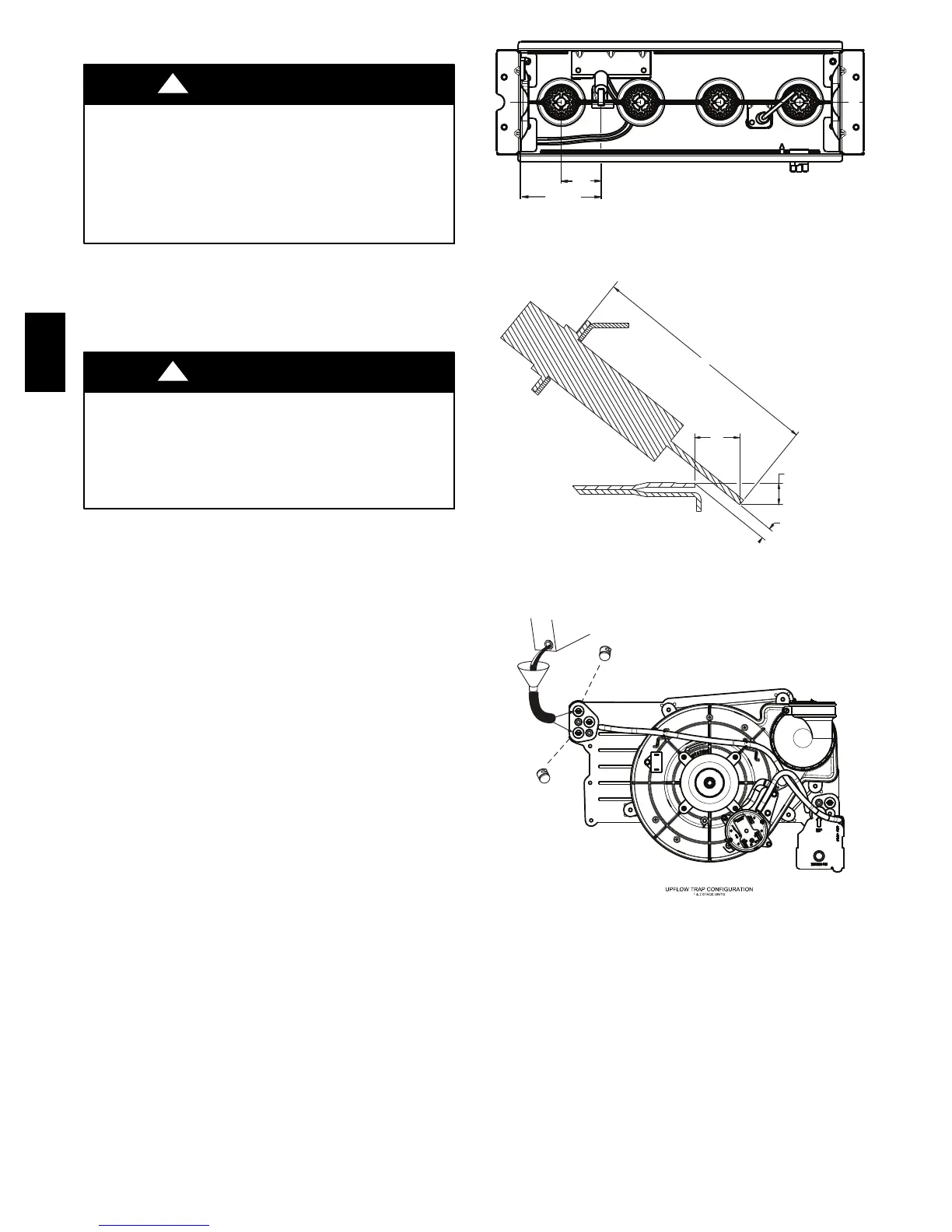
4. Remove the top unused rubber plug from the port on the
collector box opposite the condensate trap. See Fig. 61.
5. Connect a field supplied 3/8--in. (9.5--mm) ID tube to the
open port on the collector box
6. Insert a field supplied funnel into the tube.
7. Pour 1 quart of anti--freeze solution into the funnel/tube.
Antifreeze should run through the inducer housing, overfill
condensate trap and flow to an open drain.
8. Replace the rubber plug in the port on the collector box.
9. Remove the middle unused rubber plug from the port on the
collector box opposite the condensate trap. See Fig. 61.
10. Repeat Steps 5 through 8.
11. If a condensate pump is used, check with pump
manufacturer to verify pump is safe for use with antifreeze
used. Allow pump to start and pump anti--freeze to open
drain.
12. Replace main door.
13. When furnace is re--started, flush condensate pump with
clear water to check for proper operation before re--starting
furnace.
14. Propylene glycol need not be removed before re--starting
furnace.
2-1/2-in.
(64.4)
1-1/4-in.
(31.8)
A11405
Fig. 59 -- Igniter Position -- Top View
2ïin.
2.5 mm
3/8ïin.
3/16ïin.
+0.8
ï1.5 mm
50 mm
9.6 mm
4.6 mm
1/10ïin.
+ 1/32
ï 1/16ïin.
L12F041
Fig. 60 -- Igniter Position -- Side View
A11315
Fig. 61 -- Priming Condensate Trap
59TP6A

Other manuals for Carrier 59TP6A

Related product manuals