EasyManua.ls Logo

CASE CONSTRUCTION 450DX - Page 56

CASE CONSTRUCTION 450DX
96 pages
Print Icon
To Next Page IconTo Next Page
To Next Page IconTo Next Page
To Previous Page IconTo Previous Page
To Previous Page IconTo Previous Page
Loading...
7-MAINTENANCE
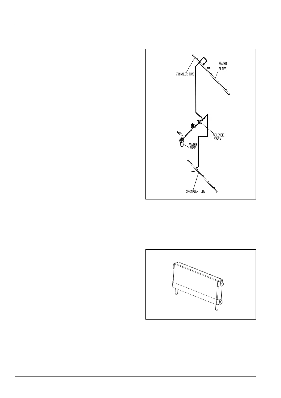
8WATERSPRINKLINGSYSTEM:WATER
SPRINKLINGSYSTEM
Cleaningthesprinklingtubes:
Removeplugsofsprinklingtubes.Removethesedi-
ments,ushthetubesandrettheplugs.
Cleaningofwaterlters:
Removethewaterlterslocatedbelowtheoperator'splat-
formThoroughlycleanandretthewaterlters.Tighten
theplugs.
PTIL15COM0274BA7
9STEERINGCYLINDERS
Cleansurroundingsofthesteeringcylinderbearingsand
cleanthegreasenipple.
InjectEPL2greasethroughthegreasenipplewiththeaid
ofagreasegun.
10HYDRAULICOILCOOLER
Anadequatecapacityhydraulicoilcoolerisprovidedin
thehydraulicsystem.Thisoilcoolerismountedinfront
ofradiator.Itisessentialtokeephydraulicoilcoolerclean
always.Cleanthehydraulicoilcooleronceinevery100
hoursoronemonth,whicheverisearlier.Thecoolerisof
tubetypeandcanbeeasilycleanedwithalowpressure
compressedair.
PTIL15COM0275AA8
7-6

Table of Contents

Related product manuals