EasyManua.ls Logo

Casio SE-S300 - Clerk Number, Check Number Programming; Clerk Other Programming; Clerk Program

Casio SE-S300
98 pages
Print Icon
To Next Page IconTo Next Page
To Next Page IconTo Next Page
To Previous Page IconTo Previous Page
To Previous Page IconTo Previous Page
Loading...
74
Advanced Operations and Setups
E
Clerk other programming
Programming procedure (individual)
Program data
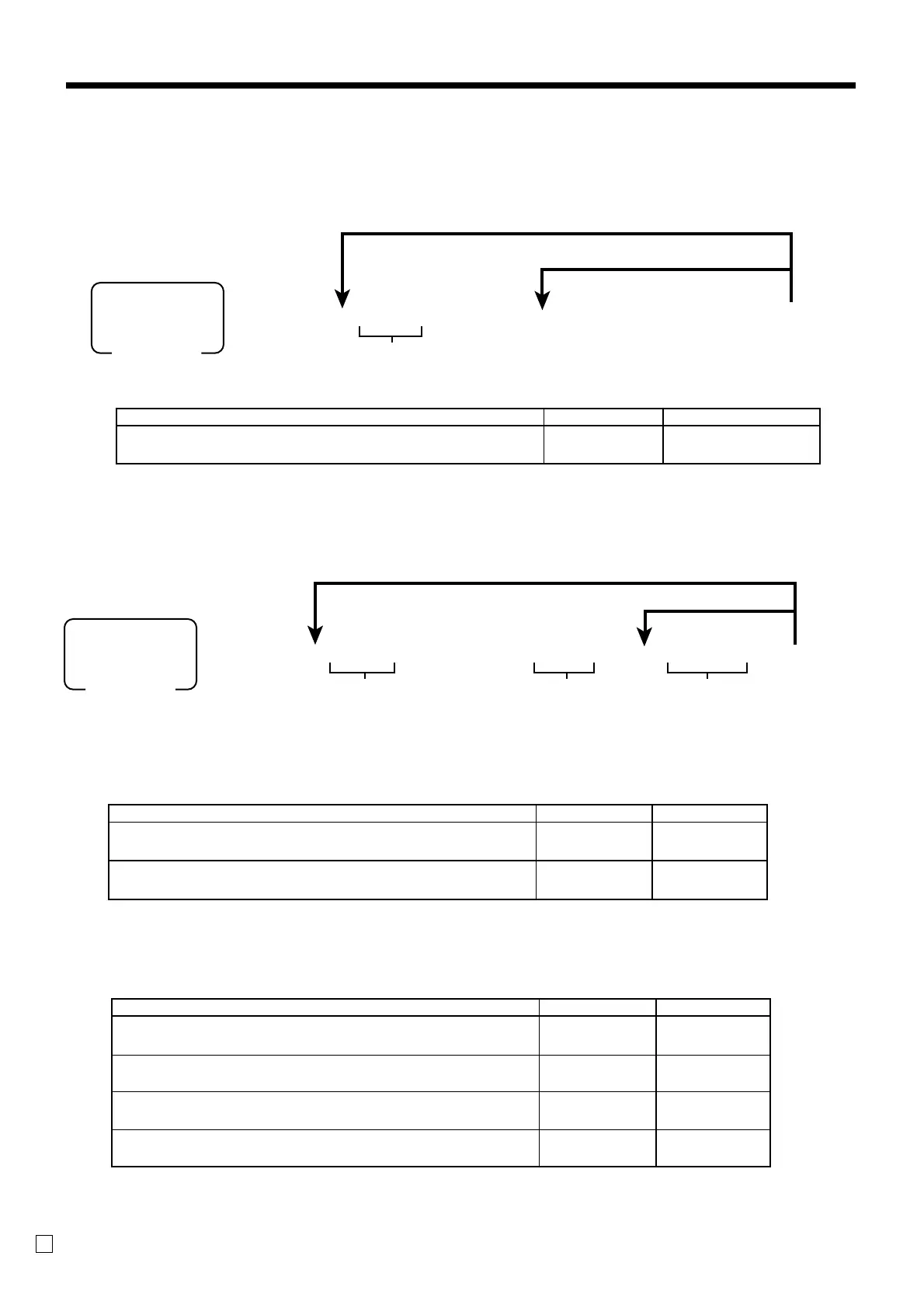
Address code 67 (Clerk control)
6 3s 6 :: 07s 6 ::s 6 ::a 6 s
PGM
Mode switch
To a new (not sequential) clerk
Record No.
Address code Program data
To the next clerk
~
Description Choice Program code
Training clerk
Always 00000
:
D
6
; ~ ;
D
5
~D
1
No = 0
Yes = 1
Clerk program
Clerk number, check number programming
Programming procedure
Program Data
Description Choice Program code
Clerk secret number
::::
D
4
D
3
D
2
D
1
Significant
numbers
63s 6 :: 07s6 :: ::6 a 6 s
PGM
Mode switch
To a new (not sequential) clerk
D
4
D
3
~D
2
D
1
Record No.
To the next clerk
~
Address code 68 (Commission rate)
Description Choice Program code
Commission rate 1 (integer: 00 ~ 99)
Commission rate 1 (decimal: 00 ~ 99)
Commission rate 2 (integer: 00 ~ 99)
Commission rate 2 (decimal: 00 ~ 99)
::
D
8
D
7
::
D
6
D
5
::
D
4
D
3
::
D
2
D
1
Significant
numbers
Significant
numbers
Significant
numbers
Significant
numbers

Table of Contents

Other manuals for Casio SE-S300

Related product manuals