EasyManua.ls Logo

Casio WK-240 - Saving Recorded Data on an External Device

Casio WK-240
76 pages
Print Icon
To Next Page IconTo Next Page
To Next Page IconTo Next Page
To Previous Page IconTo Previous Page
To Previous Page IconTo Previous Page
Loading...
Recording Your Keyboard Play
EN-54
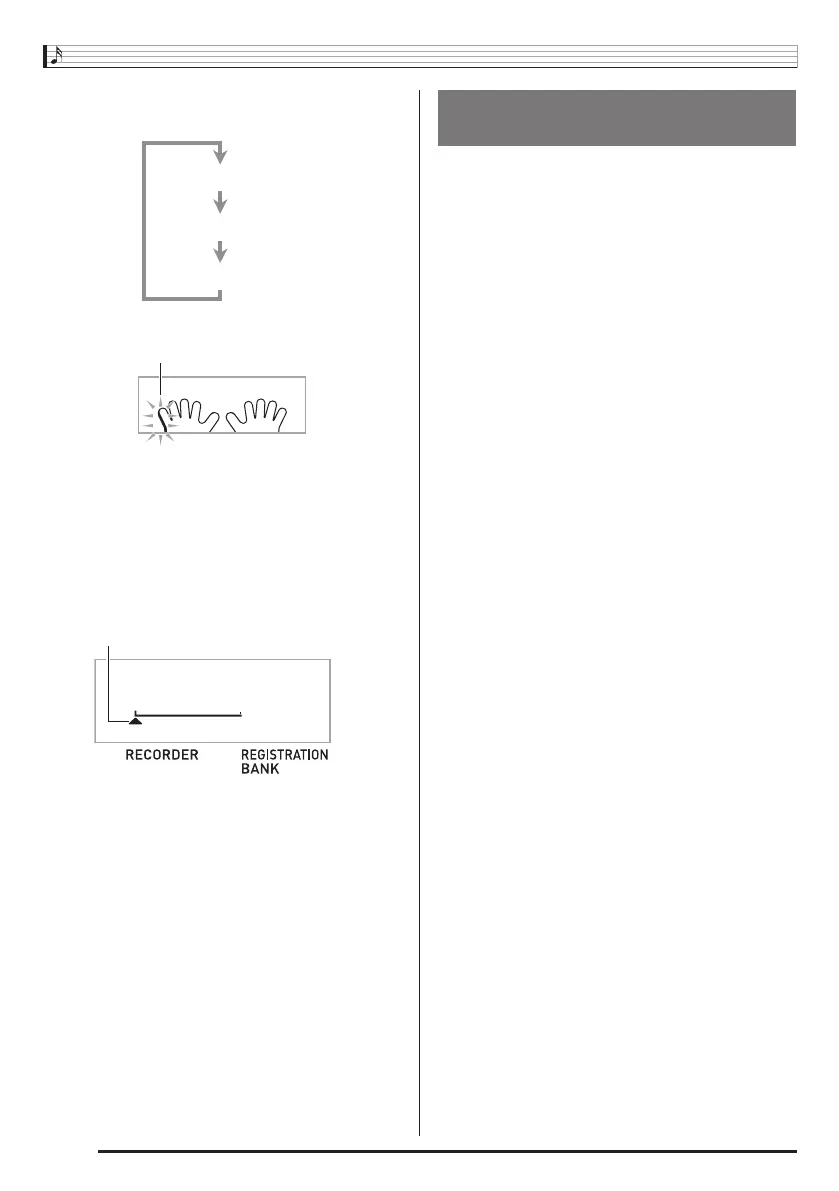
5.
Press
bl
to cycle through the parts in the
sequence shown below.
Configure tone and tempo settings at this time as well.
6.
Press
bk
to start built-in song playback and
recorder recording.
Play along with the playback.
To stop recording part way through, press
bk
.
7.
Recording will stop automatically when the end
of the built-in song is reached.
This will enter playback standby.
8.
Press
bk
.
This will start playback of what you recorded.
Each press of
bk
starts and stops playback.
9.
Press
cs
twice to exit the recorder mode.
To delete recorded data
After step 2 of the above procedure, do hold down
cs
until
the message “Song Del?” appears on the display. Press [+]
(YES) to delete the song.
You can save data you record with the Digital Keyboard on
your computer’s hard disk. See page EN-62 for details about
how to transfer sampled data to a computer for storage.
Example: Left-hand part recording
Right-hand Recording
Both-hand Recording
Left-hand Recording
Flashes
Lights
Saving Recorded Data on an
External Device
CTK4400_A5_x1a_EN_ES.indd 56 2014/02/19 10:25:21

Table of Contents

Other manuals for Casio WK-240

Related product manuals