EasyManua.ls Logo

CDA DC740 - Page 18

CDA DC740
24 pages
Print Icon
To Next Page IconTo Next Page
To Next Page IconTo Next Page
To Previous Page IconTo Previous Page
To Previous Page IconTo Previous Page
Loading...
18
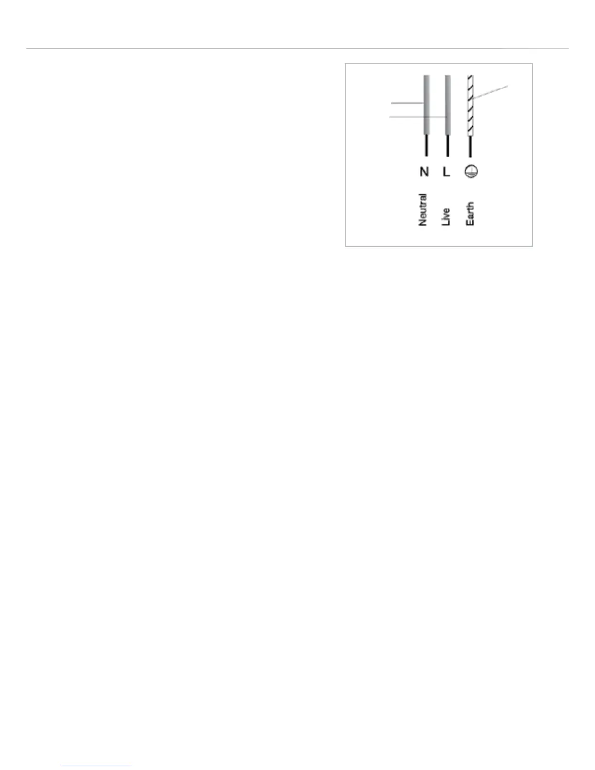
Fig.9
Green/yellow
Blue
Brown
Feed the mains lead through the
cable clamp to prevent accidental
disconnection.
Tighten the cable clamp securely and
close the connector cover.
Green and Yellow = Earth (PE)
Blue = Neutral
Brown = Live
Please note:
The mains cable must only be replaced by a qualified electrician
or service engineer and must be of equivalent or better rating (i.e.
2.5mm
²
, HO5RR-F).
This appliance is intended to be connected to the mains supply with
a cable of cross section area 2.5 mm
²
. A larger cable will not fit the
terminal connections.
The marking of the current rating of the fuse or circuit breaker
protecting this appliance should be marked on the socket outlet.
Assembly and electrical connection should be carried out by
specialised personnel.
When installing this product we recommend you seek the help of
another individual.

Other manuals for CDA DC740

Related product manuals