EasyManua.ls Logo

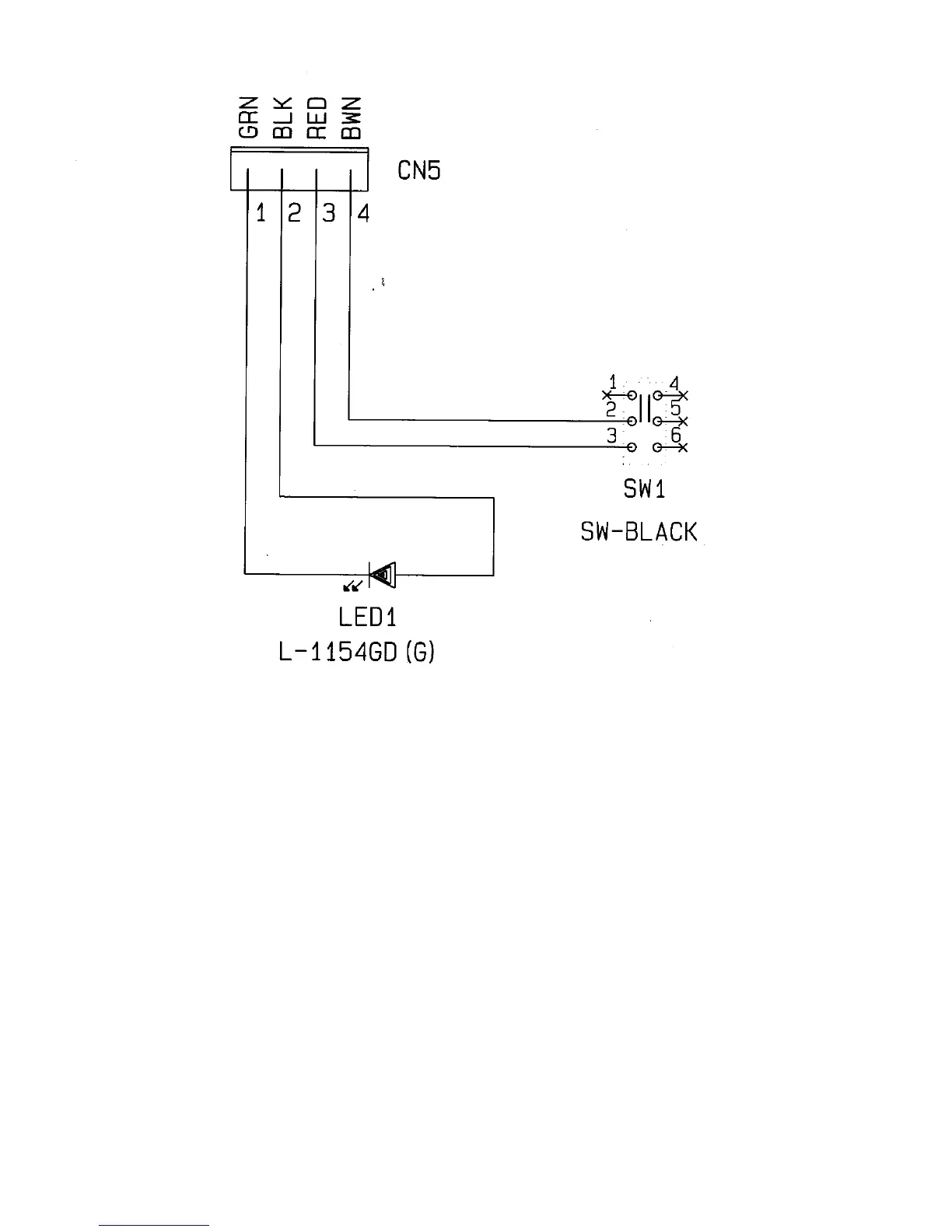
Centralion 400VA - Figure S-7 Panel Circuit

Default Icon
33 pages
Print Icon
To Next Page IconTo Next Page
To Next Page IconTo Next Page
To Previous Page IconTo Previous Page
To Previous Page IconTo Previous Page
Loading...
Figure S-7 Panel circuit
25

Related product manuals