EasyManua.ls Logo

Certikin COH180 - 3 COMBUSTION HEAD SETTING; 4 AIR DAMPER ADJUSTMENT

Default Icon
96 pages
Print Icon
To Next Page IconTo Next Page
To Next Page IconTo Next Page
To Previous Page IconTo Previous Page
To Previous Page IconTo Previous Page
Loading...
# 9"
H
$ NOZZLES RECOMMENDED$ E.(+54<$ *A81 `$T$QZf B1,+C+($ *A81 V$T$a$T$>$T$:f
Z*1-(1($ *A81 l$T$^ f B+(@.))$ *A81 :$T$^$T$Zf
Danfoss type ES %.(,A$@.5$?15.)1(1&S
$ PUMP PRESSURE
M<1$8038$,1+C1)$*<1$@+4*.5A$)1*$@.5$?15.)1(1$;.5?-(7S
10 bar: $3+b-303$851))051$@.5$?15.)1(1S
FOR LIGHT OIL INCREASE PRESSURE
12 bar: 851))051$)0-*+N,1$@.5$,-7<*$.-,$-($3.)*$4+)1)S
14 bar: $-385.C1)$@,+31$51*1(*-.(f$-*$-)$*<151@.51$)0-*+N,1$@.5$-7(-*-.()$+*$,.;$*13815+*051)S
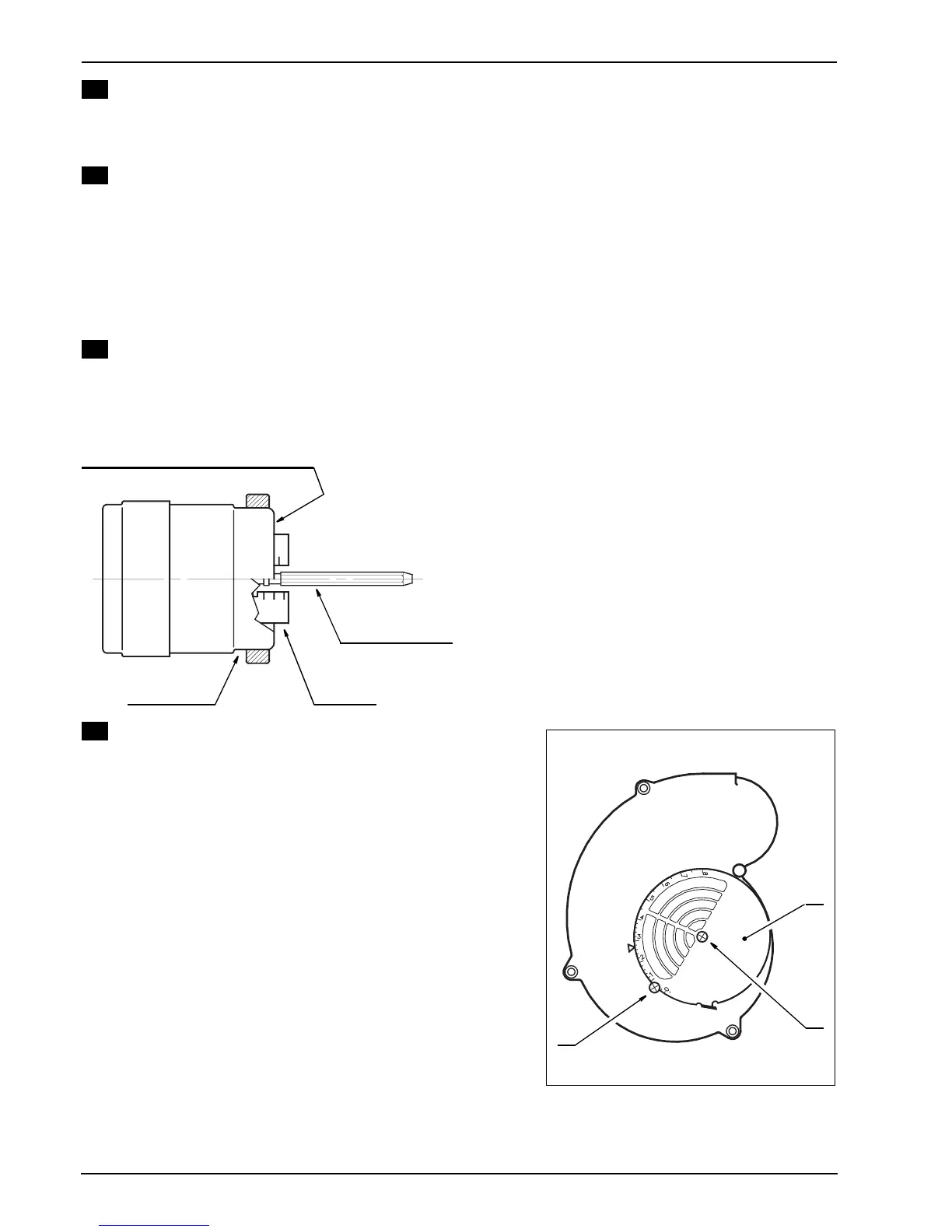
$ COMBUSTION HEAD SETTING
M<-)$-)$2.(1$;<1($@-**-(7$*<1$(.__,1/$;-*<$*<1$N,+)*$*0N1$513.C12S
'*$2181(2)$.($*<1$.0*80*$.@$*<1$N05(15$+(2$-)$4+55-12$.0*$NA$5.*+*-(7$*<1$5170,+*-(7$5.2/$*-,,$*<1$*153-(+,
8,+(1$.@$*<1$N,+)*$*0N1$-)$,1C1,$;-*<$*<1$)1*T8.-(*/$+)$-(2-4+*12$-($*<1$)4<120,1S$
$ AIR DAMPER ADJUSTMENT
M<1$5170,+*-.($$.@$$ *<1$+-5T5+*1$-)$3+21$NA$+2k0)*-(7$*<1$+-5
2+3815$%9&/$+@*15$,..)-(7$*<1$)451;)$% &S
M<1$)1**-(7)$-(2-4+*12$-($*<1$)4<120,1$51@15$*.$*<1$N05(15$
;-*<$-*)$31*+,$4.C15$@-**12$+(2$*<1$4.3N0)*-.($4<+3N15$
;-*<$m_15.n$21851))-.(S
M<1)1$5170 ,+*-.()$+ 51$8051,A$-( 2-4+*-C1S$>+4<$-( )*+,,+*-.(
<.;1C15/$<+ )$- *)$.;($0( 8512-4*+N,1$;.5?-(7$4.( 2-*-.()D
+4*0+,$( .__,1$.0*80 *f$8.)-*-C1$ .5$( 17+*-C1$851))051 $-($*<1
4.3N0)*-.(T4<+3N15/$*<1$(112$.@$1b41))$+-5/$1*4S$a,,$*<1)1
4.(2-*-.()$3+A$51g0-51$+$2-@@151(*$+-5T2+3815$)1**-(7S
It is important to take account of the fact that the air
output of the fan differs according to whether the
burner has its metal cover fitted or not.
Therefore we recommended to proceed as follows:
U$ +2k0)*$*<1$+-5$2+3815$+)$-(2-4+*12$-($*<1$)4<120,1$%L&f
U$ 3.0(*$*<1$4.C15/$)-38,A$NA$31+()$.@$*<1$08815$)451;f
U$ 4<14?$)3.?1$(03N15f
U$ )<.0,2$-*$N14.31$(141))+5A$*.$3.2-@A$*<1$+-5$.0*80*/$513.C1$*<1$4.C15$NA$,..)1(-(7$*<1$)451;/
+2k0)*$*<1$+-5$2+3815/$513.0(*$*<1$4.C15$+(2$@-(+,,A$514<14?$*<1$)3.?1$(03N15S
1
2
3
Blast tube
Regulating rod
Shutter
Terminal plane of the blast tube
BH9"H
9#R
'($*<1$)?1*4<$.( $*<1$,1@*/$*<1$4.3N0)*-.(
<1+2$-)$)1*$@.5$+($.0*80*$ .@$$9S""$cO^$+*
9 $N+5$(for light oil)$.5$9S R$cO^$+*$F$N+ 5
(for kerosene).
M<1$ )<0**15$-) $,1C1,$; -*<$) 1*T8.-(*$$ 3/$+)
51g0-512$NA$*<1$*+N,1$+*$8+71$R
4
2
1
BRR9L
2

Other manuals for Certikin COH180

Related product manuals