EasyManua.ls Logo

Chamberlain ATS211X - Fixation du Rail Sur Le Support de Linteau

Chamberlain ATS211X
64 pages
Print Icon
To Next Page IconTo Next Page
To Next Page IconTo Next Page
To Previous Page IconTo Previous Page
To Previous Page IconTo Previous Page
Loading...
10
Support
de linteau
Support de
la poulie
de la chaîne
Support
temporaire
Linteau
Porte de
garage
Axe de chape de
5/16 po x 2-3/4 po
Anneau
d'arrêt
Support de linteau
Support de
la poulie
de la chaîne
Rail
Rail
POSE - 3
e
OPÉRATION
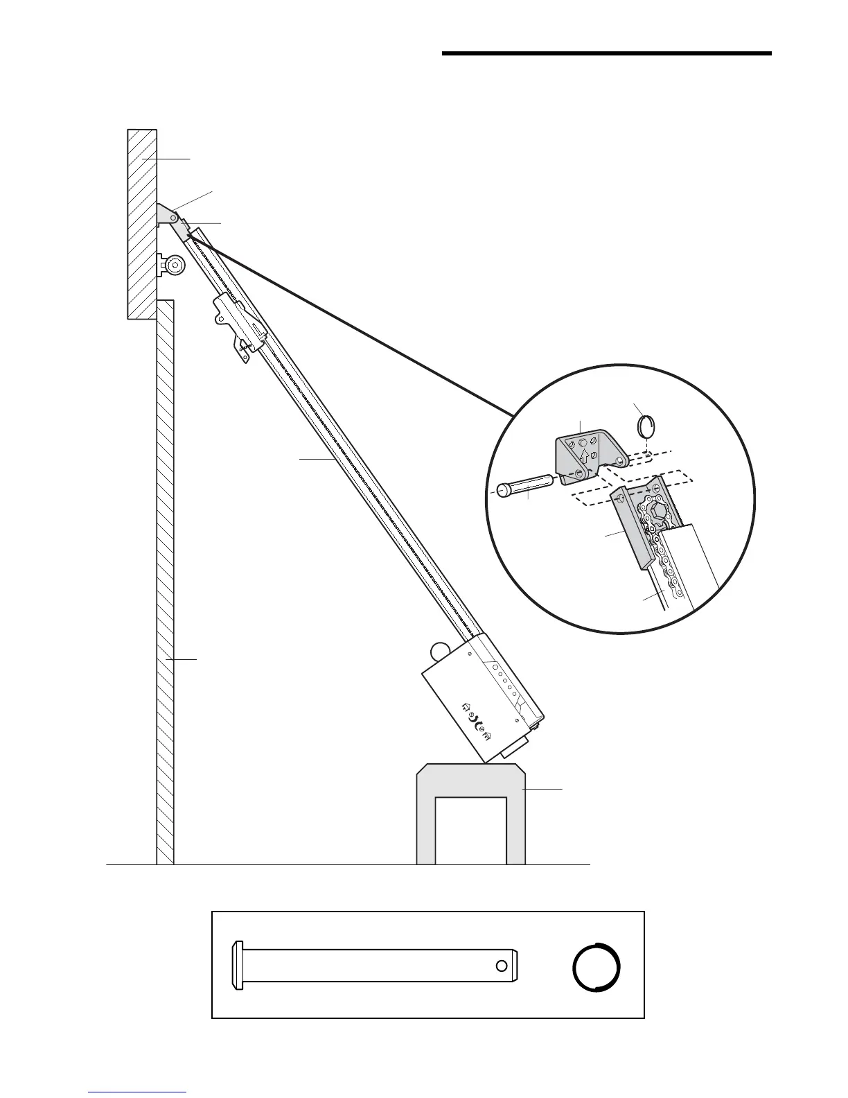
Fixation du rail sur le support
de linteau
Positionner l'ouvre-porte de garage sur le plancher, juste
sous le support de linteau. Utiliser une des boîtes
d'emballage pour le protéger. REMARQUE : Si le
ressort de la porte gêne, il faudra demander de l'aide.
Demander à une personne de bien retenir l'ouvre-porte
sur un support temporaire de façon que le rail ne touche
pas le ressort.
Positionner le support du rail contre le support
de linteau.
Aligner les trous des supports et les raccorder avec un
axe de chape, comme il est illustré.
Introduire un anneau d'arrêt pour immobiliser.
Axe de chape de 5/16 po x 2-3/4 po
Anneau d'arrêt
GRANDEUR RÉELLE DES FIXATIONS

Table of Contents

Related product manuals