EasyManua.ls Logo

Chamberlain LiftMaster Security+ 2500BC - Fixation du Rail Sur le Support de Linteau; Axe de Chape de 5;16 Po X 2-3;4 Po

Chamberlain LiftMaster Security+ 2500BC
72 pages
Print Icon
To Next Page IconTo Next Page
To Next Page IconTo Next Page
To Previous Page IconTo Previous Page
To Previous Page IconTo Previous Page
Loading...
11
Support
de linteau
Support de poulie
de courroie
Linteau
Support
temporaire
Axe de chape de
5/16 de po x 2-3/4 po
Anneau d'arrêt
Support de linteau
Support de
poulie
de courroie
Rail
Porte de
garage
Rail
Mousse
d'emballage
Ressort
à torsion
Axe de chape de 5/16 po x 2-3/4 po
Anneau d'arrêt
GRANDEUR RÉELLE DES FIXATIONS
POSE - 3
e
OPÉRATION
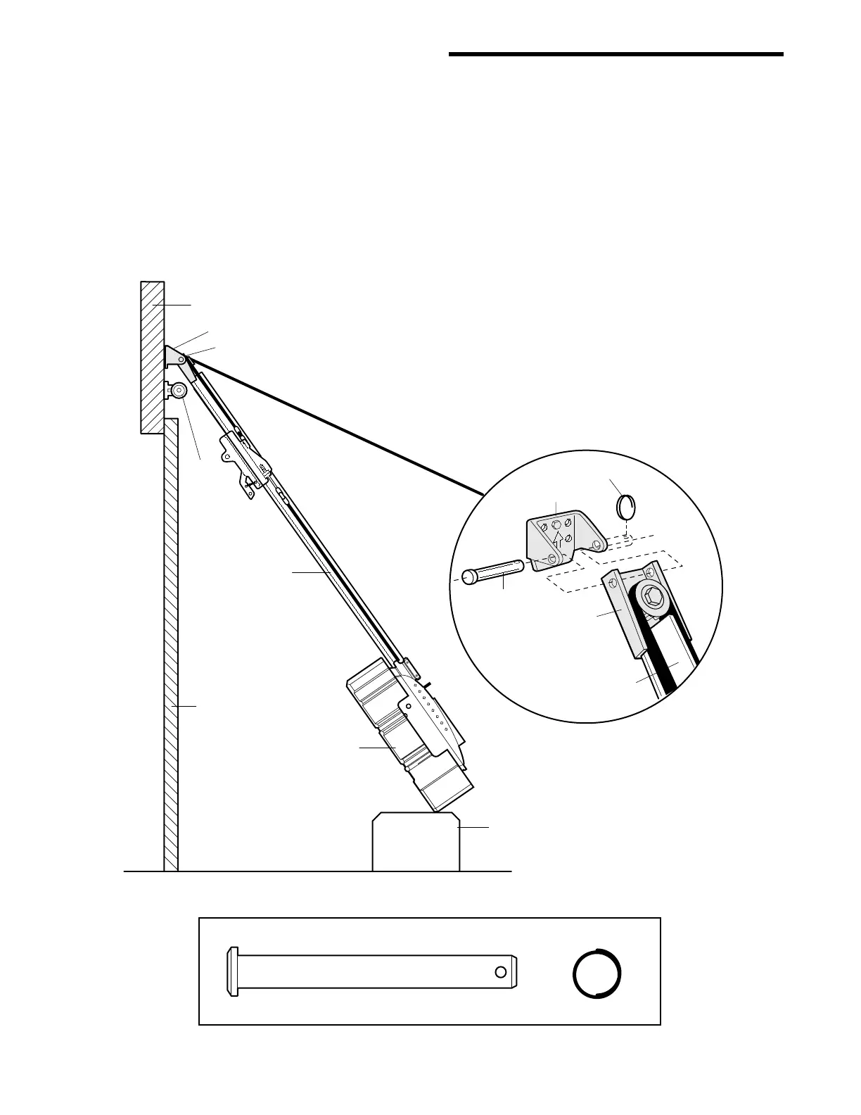
Fixation du rail sur le support
de linteau
Positionner l'ouvre-porte de garage sur le plancher, juste
sous le support de linteau. Utiliser une des boîtes
d'emballage pour le protéger. REMARQUE : Si le
ressort de la porte gêne, il faudra demander de l'aide.
Demander à une personne de bien retenir l'ouvre-porte
sur un support temporaire de façon que le rail ne touche
pas le ressort.
Positionner le support du rail contre le support
de linteau.
Aligner les trous des supports et les raccorder avec un
axe de chape, comme il est illustré.
Introduire un anneau d'arrêt pour immobiliser.

Table of Contents

Related product manuals