EasyManua.ls Logo

Charmilles E110-D10 - Page 44

Default Icon
191 pages
Print Icon
To Next Page IconTo Next Page
To Next Page IconTo Next Page
To Previous Page IconTo Previous Page
To Previous Page IconTo Previous Page
Loading...
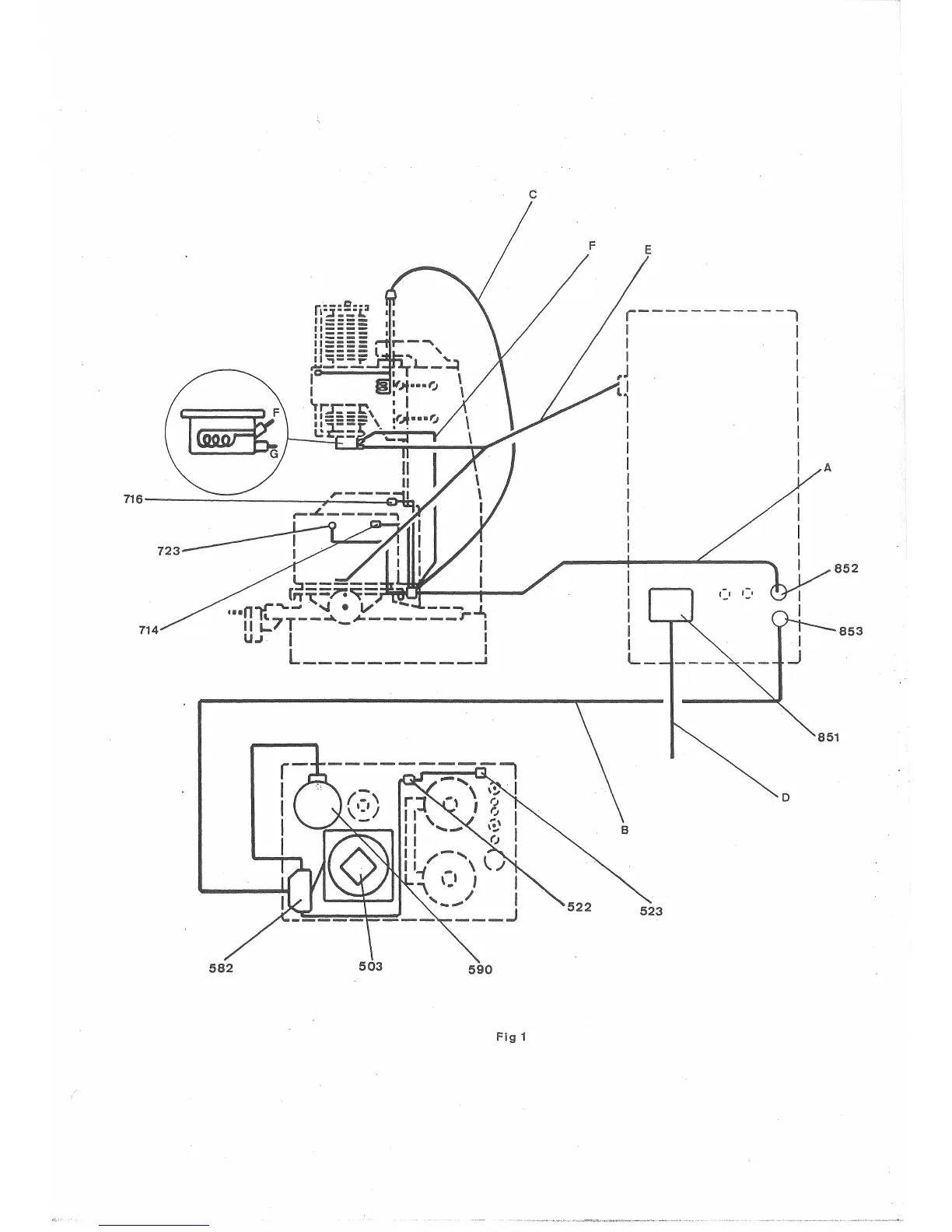
c
7'14
582
503
590
Fig
1
F E
~------------,
I i
I I
I I
~J
I
t.
I I
i I
I I
I I
! I A
I
I
I
i
I
I
I
I
I
I
I
I
L_
B
523
851
D
853

Table of Contents