EasyManua.ls Logo

Chrysler Concorde - Page 292

Chrysler Concorde
1591 pages
Print Icon
To Next Page IconTo Next Page
To Next Page IconTo Next Page
To Previous Page IconTo Previous Page
To Previous Page IconTo Previous Page
Loading...
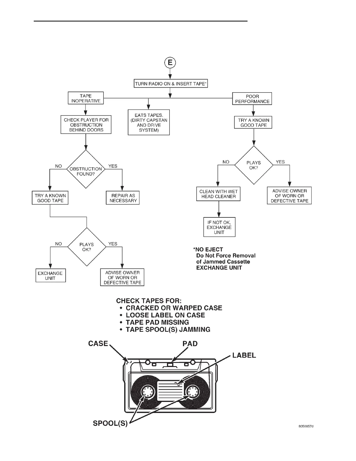
BASE 4 SPEAKER SYSTEM CONTINUED
LH AUDIO SYSTEMS 8F - 7
DIAGNOSIS AND TESTING (Continued)

Table of Contents

Related product manuals